BME100 s2018:Group6 W0800 L1

From OpenWetWare
Jump to navigationJump to search
BME 100 Spring 2018 Home
People
Lab Write-Up 1 | Lab Write-Up 2 | Lab Write-Up 3
Lab Write-Up 4 | Lab Write-Up 5 | Lab Write-Up 6
Course Logistics For Instructors
Photos
Wiki Editing Help


OUR TEAM

Name: Dante DeSimone
Name: Connor Phillips
Name: Aarya Mecwan
Name: Markaya Hunter
Name: Jesus Pena

LAB 1: Exploring a problem and our solution

Health Care Issue

Describe the health care issue you will develop a solution for. Include a description of the pathology your device or technology that will treat/prevent/diagnose.

The health issue that we are developing a solution for is plantar fasciitis. This condition occurs when the plantar fascia, the supporting band of muscle on the bottom of your foot, develops small tears. This is due to excessive stress on the heel from things like obesity, high-impact sports, and rheumatoid arthritis. It is an especially relevant condition with the exponential increase of obesity across the world. According the National Institute of Diabetes and Digestive and Kidney Diseases, in 2014 32.5% of all adults in the US were overweight (BMI 25 to 29.9) and 37.7% are obese (BMI 30+) that’s roughly 70.3% or 224 million people.(2) Common solutions nowadays include corticosteroids, and plastic shoe inner soles. Corticosteroids, although they provide temporary relief can actually predispose you to plantar fasciitis, and the majority of inner soles produced today are made of hard plastic and are not suitable for all activities.(2) We aim to produce our own “smart” inner sole that adjusts support based on the activity of the user, the device would also acquire data while it is being worn. This feature will be beneficial for those looking to monitor their weigh, steps per day, or more dedicated runners who want to understand where they place their weight while running. This technology will be an addition to the product itself and will require a purchase of subscription to access the features.

    Customer Validation

    Create a list of 20 specific customers that you would contact to validate your device/technology (physicians, individuals, organizations etc).
  1. Specialists (Podiatrists).
  2. Individuals who have had plantar fasciitis.
  3. Individuals who are becoming middle aged, plantar fasciitis increases in the age group of 40-60.(3);
  4. Athletes, because they run a lot.
  5. People who are overweight, it could help them reduce the likelihood of developing plantar fasciitis while working out.
  6. General physicians, they are the first people who patients come to when they start developing pains in their foot.
  7. Pharmacy, they can recommend us to patient with foot pains.
  8. Retail stores, if there’s no Walgreens nearby then there is most likely a Walmart, a great place to sell our product (financially).
  9. Online stores: Amazon, a lot of people do online shopping, another method of selling our products.
  10. Health insurances, if our product is a little expensive for the average person, perhaps health insurance would cover it.
  11. Companies who are already big players in the space we’re invading (ex: Soucy Baron), if we create competition other companies could buy our idea instead of competing with us.
  12. Big shoes companies (ex: Nike, Adidas), so that they could integrate our technology onto their shoes.
  13. Individuals with flat feet, that can cause excessive pronation, also 12% of people have flat feet in the US which equates to roughly 39.2 million people.(4)
  14. Sports team, we can test to see if it’ll affect the athletes positively and they could sponsor our product.
  15. Individuals who stand a lot (teachers, factory workers, construction workers), they have a higher chance of developing plantar fasciitis.
  16. Running clubs (ex: RRCA), we could set up experiments at these events to test if our product works.
  17. Sporting events (high-school, college), we could also test our product at these events.
  18. Sport stores (ex: Dicks), we could set up our product next to sport shoes.
  19. Medical facilities, if people need surgery to relieve their pain, the doctor would recommend our product to the patient to help their recovery.
  20. People who work out, since a lot of pressure occurs on the feet when doing certain activities like squats.



    Competitors

    List current solutions for this health care issue.

<tbody> </tbody>

Current Solutions

Advantages

Disadvantages

Dr. Scholl’s Pain Relief for Plantar Fasciitis (5)

  • Low cost($14.99)
  • Great for short term relief
  • Some customers complained that their pain returned while wearing the product

Plantar fasciitis compression sleeve (6)

  • Convenient and can be worn under socks
  • There isn’t much support for people that have really bad Plantar Fasciitis (technological)

Orthotic, custom-made devices made of plastic, rubber, felt (7)

  • Fit to the shape of your foot
  • Expensive because impression of foot with plaster cast is taken (financial)

Plantar Fasciitis Insoles by VIVEsole (8)

  • Specifically for plantar fasciitis
  • Biomechanical design that supports natural foot shape
  • Comfortably padded so it also helps relieve back/leg pain
  • Additional cushioning absorbs impact of each step
  • Full length and versatile
  • Washable insoles, lightweight
  • Cheap ($10)
  • Foam padding compresses really quickly so they’re uncomfortable (technological)
  • Good for 10-15 miles of walking
  • Hurts if you don’t have plantar fasciitis in the other foot

Surgery (9)

  • The tension is released in the foot
  • Provides long term relief
  • Recovery time is usually between 6-10 weeks
  • It may take up to 3 months before the patient can resume rigorous activity
  • Chance of infection
  • Numbness may occur if the nerves around the facia become damaged

Our device is more marketable than the above solutions because it was be low cost, lightweight, versatile, extremely cushioned, and will be able to fit the needs of people with extremely severe to less severe plantar fasciitis. Our inner sole will adjust support based on the user’s activity-- it will not only be designed for running/walking. Additionally, the device will acquire data while being worn. For those who aim to track their weight, it will in a sense act as a FitBit, monitoring their weight, steps per date. For runners, it will even read where their weight is distributed while they run.

Unmet Needs: There has yet to be a product that is noninvasive and that will provide long term pain relief for Plantar Fasciitis.

Rating: 2 There are competitors that exist, like Dr. Scholl’s, but improvements can still be made. The product will be more effective and technologically advanced than its competitors.

    IP Position

    Perform a patent search and describe existing patents related to your device/technology.

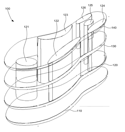
  • USER MOLDABLE ADJUSTABLE INSERT
  • Number/Assignee
        1. 7900380B2, Masterfit Enterprises Inc.
  • Summary
        1. This is an insole designed to be molded to the shape of the user’s foot. There is a gel layer in the insole that is heated, then molded to the users foot, then sets in its shape. The insole is meant to conform exactly to the shape of the user’s arch. The upper and lower layers are made of plastics, and the middle layer that molds is gel (of which excess is removed after molding).
  • Image
  • Filing Date
        1. 10/13/2005
  • GEL INSOLES WITH LOWER HEEL AND TOE RECESSES HAVING THIN SPRING WALLS
  • Number/Assignee
        1. 6598321B2
  • Image
  • Summary
        1. This is a removable insole to be used in shoes that is made primary of an elastic gel. It has recesses in the toe and the heel areas, and in these recesses there are thin spring walls. The spring walls are made from the gel, and are parallel to each other. These walls are designed to provide extra cushioning and support for the heel and toe areas of the shoe.
  • Filing Date
        1. 12/20/2001
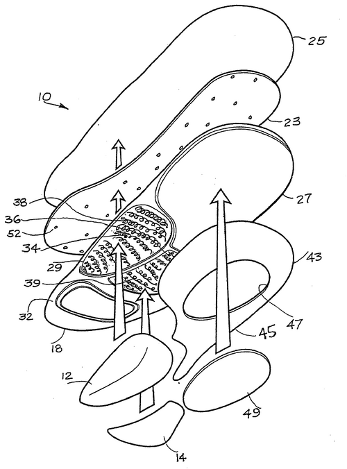
  • ORTHOTIC FOOT DEVICE WITH REMOVABLE SUPPORT COMPONENTS AND METHOD OF MAKING SAME
  • Number/Assignee
        1. 2009/0049712-- Athena Pacific LLC
  • Summary
        1. This is a special type of insole with multiple layers of support that can be removed individually. The main features/layers of this device are a flexible chassis that extends along the length of the foot and a support component and one or more cushioned layers both above and below this chassis.
  • Image
  • Filing Date
        1. 8/21/2008
  • INSOLE TO REDUCE PLANTAR PRESSURE
  • Number/Assignee
        1. 20070261268A1- Nguyen, Hienvu C.
  • Summary
        1. This insole is designed specifically to absorb shock and reduce shear pressure on the plantar part of the foot. It does this through layers of Poron and soft EVA materials on the bottom layer, polymer gels in the middle, and Neoprene on the top. The entire insole has holes spaced evenly throughout the insole which are designed to reduce pressure by allowing the holes to distort in response to the pressure.
  • Image
  • Filing Date
        1. 5/9/2006
  • SMARTPHONE-CONTROLLED ACTIVE CONFIGURATION OF FOOTWEAR INCLUDING WITH CONCAVELY ROUNDED SOLES
  • Number/Assignee
        1. 2013/0278435A1-- Frampton E. Ellis
  • Summary
        1. This design is for a shoe or removable insole that has bladder chambers connected to sensors that can change the internal pressure of the chambers. Using this technology, the user can adjust the levels of support for different parts of the footwear on their smartphone or other connected computer, which is connected to the bladder compartments
  • Image
  • Filing Date
        1. 4/10/13
  • CONFIGURABLE FOOT ORTHOSES
  • Number/Assignee
        1. 20120226210A1
  • Summary
        1. This removable insole has a number of different layers and “position adjusters”. These adjusters are designed for different parts of the foot. The purpose of adjusting the different parts of the insole is to help counteract the effects of a postural deviation. The adjustment is made through using computers and sensors to detect postural deviation and then adjust the insole accordingly.
  • Image
  • Filing Date
      1. 7/7/2010





Ratings

  1. Customer Validation: 1, we identified the theoretical customer yield, but the actual yield of customers cannot be determined until we contact the customers themselves.
  2. Competitors: 2 because there does exist competitors, there aren’t a lot on the market and there is still improvement that can be made to current solutions.
  3. IP Position: 1, we can theoretically patent the idea, however, we currently have not done so.






Works Cited

    (1) “Overweight & Obesity Statistics” The National Institute of Diabetes and Digestive and Kidney Diseases,<a href="https://www.niddk.nih.gov/health-information/health-statistics/overweight-obesity">https://www.niddk.nih.gov/health-information/health-statistics/overweight-obesity</a> Published 8/17. Accessed 1/24/18.

      (2)Whitney Alan, Kendrick “Plantar Fasciosis (Plantar Fasciitis)” Merck Manual Professional Version, <a href="http://www.merckmanuals.com/professional/musculoskeletal-and-connective-tissue-disorders/foot-and-ankle-disorders/plantar-fasciosis">www.merckmanuals.com/professional/musculoskeletal-and-connective-tissue-disorders/foot-and-ankle-disorders/plan</a>
      (3)“Plantar Fasciitis”. Mayo Clinic, Mayo Clinic, August 11 2017, https://www.mayoclinic.org/diseases-conditions/plantar-fasciitis/symptoms-causes/syc-20354846.
      (4)“Foot Conditions A-Z”. Institution For Preventive Foot Health, IPFH, https://www.ipfh.org/foot-conditions/foot-conditions-a-z/flat-feet.
      (5)“Dr. Scholl's Pain Relief For Plantar Fasciitis Insoles for Women - Size (6-10)” <a href="http://www.merckmanuals.com/professional/musculoskeletal-and-connective-tissue-disorders/foot-and-ankle-disorders/plantar-fasciosis">Target, </a><a href="https://www.target.com/p/dr-scholl-s-pain-relief-for-plantar-fasciitis-insoles-for-women-size-6-10/-/A-51430274?ref=tgt_adv_XS000000&AFID=bing_pla_df&CPNG=PLA_Health%2BBeauty%2BShopping&adgroup=SC_Health%2BBeauty&LID=700000001230728pbs&network=s&device=c&querystring=dr.%20scholl%27s%20pain%20relief%20for%20plantar%20faciitis&gclid=[*GCLID*]&gclsrc=ds">https://www.target.com/p/dr-scholl-s-pain-relief-for-plantar-fasciitis-insoles-for-women-size-6-10/-/A-51430274?ref=tgt_adv_XS000000&AFID=bing_pla_df&CPNG=PLA_Health%2BBeauty%2BShopping&adgroup=SC_Health%2BBeauty&LID=700000001230728pbs&network=s&device=c&querystring=dr.%20scholl%27s%20pain%20relief%20for%20plantar%20faciitis&gclid=[*GCLID*]&gclsrc=ds</a>, Published 9/16. Accessed 1/24/18.
      (6)“Plantar Fasciitis Insoles by ViveSole”Amazon, <a href="https://www.amazon.com/Plantar-Fasciitis-Insoles-ViveSole-Orthotics/dp/B00LME519S?th=1">https://www.amazon.com/Plantar-Fasciitis-Insoles-ViveSole-Orthotics/dp/B00LME519S?th=1</a> Published 2017. Accessed 1/24/18.
      (7)Gosh, Amanda. “11 Best Plantar Fasciitis Socks” Vive Health, <a href="https://www.vivehealth.com/blogs/resources/best-plantar-fasciitis-socks">https://www.vivehealth.com/blogs/resources/best-plantar-fasciitis-socks</a>

    Published 7/23/17. Accessed 1/24/18.

    (8) Tuff, Sarah “Do You Really Need An $800 Custom Insole?” New York Times, <a href="http://www.nytimes.com/2006/06/22/fashion/thursdaystyles/22Fitness.html">http://www.nytimes.com/2006/06/22/fashion/thursdaystyles/22Fitness.html</a>

    Published 5/22/6. Accessed 1/24/18.

    (9) “Plantar Fasciitis Surgery” Heel That Pain, <a href="https://heelthatpain.com/plantar-fasciitis/plantar-fasciitis-surgery/">https://heelthatpain.com/plantar-fasciitis/plantar-fasciitis-surgery/</a>

    Accessed 1/25/18.