BME100 s2018:Group2 W1030 L1
|  BME 100 Spring 2018 | Home People Lab Write-Up 1 | Lab Write-Up 2 | Lab Write-Up 3 Lab Write-Up 4 | Lab Write-Up 5 | Lab Write-Up 6 Course Logistics For Instructors Photos Wiki Editing Help | |||||||||||||||||||
|   | ||||||||||||||||||||
| 
 OUR TEAM
 
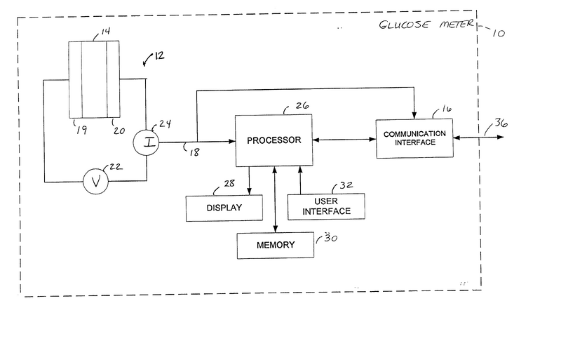
 Lab 11. Describe the healthcare issue you will develop a solution for. Include a description of the pathology your device or technology that will treat/prevent/diagnose. Many people in the United States who suffer from diabetes or hypoglycemia need to measure their glucose levels anywhere from two to eight times a day(1). Many of these Americans also have slight to severe dehydration problems. Our group is working to tackle both of these. As well as, help those with other less common diseases that would need to test their dehydration levels and glucose, or blood sugar, levels. Blood sugar testing is a very large business but our group aims to bring the blood glucose meters to the phone. Most people in America carry cell phones with them, and an ever-increasing number carry smartphones with external ports. These ports keep changing, most of all the Apple charging port, so our group will connect our device via Bluetooth. For glucose levels, our device would test the blood put on a sensor, similar to the ones used in almost every glucose meter today, and the glucose levels would be interpreted by the main sensor, and the information would travel via Bluetooth to the phone app, which would display the results. For dehydration, our device would test the biomarkers in blood, namely salt concentrations. This would be done by measuring how electrolytic the blood sample is by measuring the current through the blood from two electrodes on the strip. A high salt concentration reading corresponds to not only dehydration and high sodium levels(2). This reading would show a separate reading in the app, corresponding to dehydration and salt levels. Data can then be sent to healthcare providers and will be stored so that users can track levels not only throughout the day but see results from months back. In an age where glucose strips are decreasing in price and the numbers of people who use them are rising, a direct interface with the phone is one of the most important technological benefits our company offers. (1) “Blood Sugar Testing: Why, When and How.” Mayo Clinic, Mayo Foundation for Medical Education and Research, 26 Jan. 2018, www.mayoclinic.org/diseases-conditions/diabetes/in-depth/blood-sugar/art-20046628v. (2) “Osmolality Blood Test - Penn State Hershey Medical Center.” Penn State Hershey Health Information Library, 15 July 2017, pennstatehershey.adam.com/content.aspx?productId=117&pid=1&gid=003463. 
 1. Patients with Diabetes Insipidus 2. Patients with obesity 3. Construction workers 4. Patients with kidney failure 5. Athletes, hikers, and climbers 6. Patients with Type 1 diabetes 7. Patients with Type 2 diabetes 8. Endocrinologist 9. Sports medicine doctors 10. Mayo Clinic 11. Massachusetts general hospital 12. Cleveland Clinic 13. John Hopkins hospital 14. The Institute for Diabetes, Obesity, and Metabolism and Penn Diabetes Research Center 15. National Institute of Diabetes and Digestive and Kidney Diseases (NIH) 16. Joslin Diabetes Center 17. Diabetes Research Institute 18. Diabetes Research center 19. Medicare Health Insurance 20. Medicaid Health Insurance 21. TRICARE Health Insurance 
 
 
 US20080119705A1-A patent from 5/22/2008 by Medtronic Minimed Inc. for “Systems and Methods for Diabetes Management Using Consumer Electronic Devices.” This patent is related to our product because of the connection via Bluetooth. The patent, however, is mainly focused on continuous blood sampling, where the data is directly sent to the patient's smartphone to an app where it is stored.
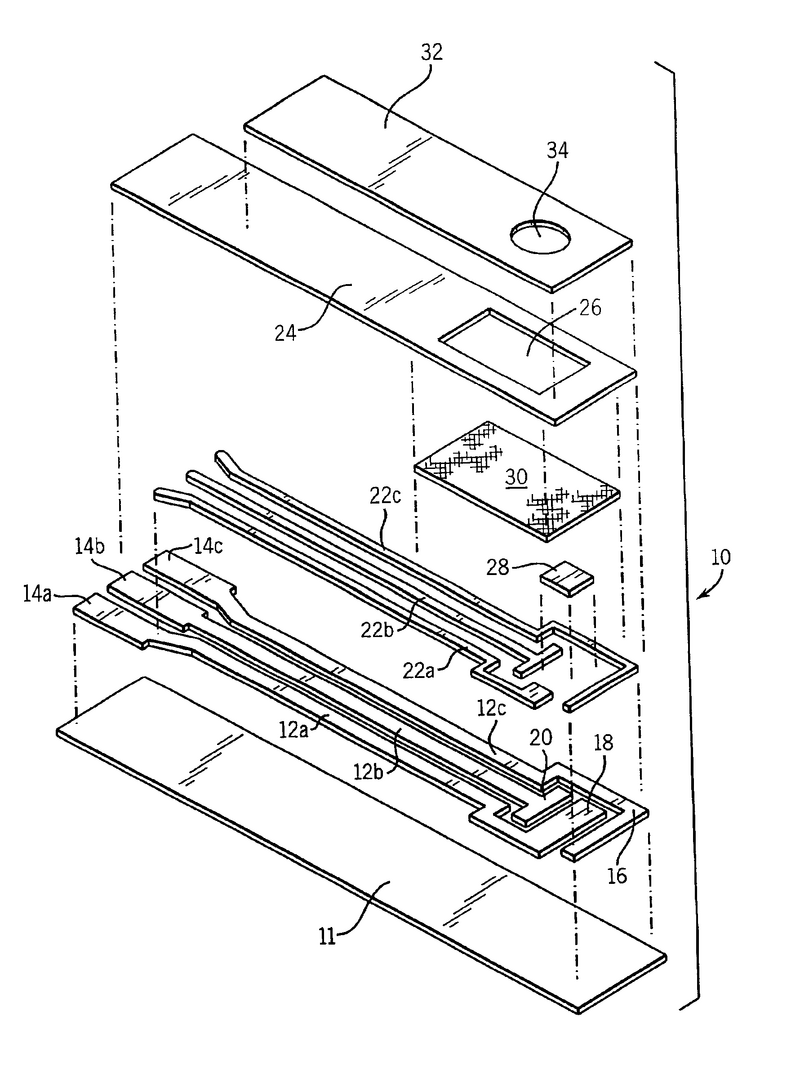
 US6863800B2-A patent from 3/8/2005 by Abbott Laboratories describing a strip sensor with multiple electrodes to measure concentrations of analytes by creating a voltage difference across the sample. This is the way we are going to measure the concentration of salt in the blood sample.
 5. Using the information you have compiled, score the portions of the fundability worksheet listed below. Customer Validation-1-Must use a value of one for this category. Competitors-2-We chose to use a value of two because even though there are a lot of competitors, lots of new technologies are being added to glucose meters. Not only are companies moving towards more phone-based readings, they are making meters smaller and more accurate all the time. IP Position-1-No patent applications have been filed yet, but basic patents from other companies exist. | ||||||||||||||||||||




