BME100 s2018:Group1 W1030 L1
|  BME 100 Spring 2018 | Home People Lab Write-Up 1 | Lab Write-Up 2 | Lab Write-Up 3 Lab Write-Up 4 | Lab Write-Up 5 | Lab Write-Up 6 Course Logistics For Instructors Photos Wiki Editing Help | |||||||||||||||||||||||
|   | ||||||||||||||||||||||||
| 
 OUR TEAM
 LAB 1 WRITE-UPHealth Care Issue~A concussion, or TBI (traumatic brain injury) is caused by a hit or jolt of the head or neck. The severity ranges on a spectrum from mild to severe, where the mild cases are classified as concussions. Concussions can cause short or long term changes in thinking, sensation, language, emotion, and other behaviors.6 ~Some helmets claim to prevent concussions, but no helmet has been proven to be successful in this regard. ~While concussion prevention is preferable, it is difficult to achieve. Concussion detection is vital though, because repeat concussions or a second concussion before the first concussion has fully healed can cause the symptoms to become drastically worse. Even if neither concussion was particularly severe by itself, two in succession can cause rapid brain swelling and permanently disabling or deadly effects.8 ~Concussions are a dangerous and oftentimes undetected injury in many sports and contact activities. 3,800,000 concussions were reported in 2012, and many more are unreported. A study by Harvard and Boston University found that up to 26 out of 27 possible concussions are not reported. 1 ~In 39% of cases where cumulative concussions have occurred, long term changes in brain chemistry have been noted. For example, former NFL players have abnormal tau proteins (which are associated with Alzheimer’s) and symptoms similar to Parkinson’s disease.2 ~Concussions are difficult to detect because less than 10% of them involve a loss of consciousness.5 ~Not only are concussions prevalent in football (64-76.8), but also ice hockey (54), lacrosse (40-46.6), wrestling (22-23.9), softball and baseball (16-16.3) and many other sports (number of reported concussions out of 100,000 practices/games/activities per athlete).5 Customer Validation1. Seeing Stars Foundation Promotes research and education about sports related concussions primarily in youth sports.10 2. Concussion Legacy Foundation Goal is to study, treat, and prevent concussions and their side effects.11 3. Shelly Arredondo Athletic trainer at Tempe Union High School 4. Phoenix Metro Bicycle Club 5. Core Construction Company Inserts could fit into construction helmets as well as sports helmets.12 6. Riddell Football equipment company that specializes in making helmets.13 7. Barrow Neurological Institute at Phoenix Children’s Hospital 14 Treats neurological disorders and performs neurosurgery for children 8. Glynnis Zieman, MD Neurologist specializing in concussion and brain injury 9. Sun Devil Winter Sports Club Student organization dedicated to skiing and snowboarding 10. Chandler Youth Baseball players, coaches, and parents 11. Arizona Scorpions Club Softball Organization 12. Desert Youth Hockey Organization 13. Phoenix American Youth Football and Cheer Conference Players, coaches, parents 14. Banner Concussion Center 15 15. Impact Applications, Inc Immediate Post-Concussion Assessment and Cognitive Testing 16 16. Justin Deer and Ashley Garcia Chandler United School District sports medicine and athletic training staff 17. Cascade Lacrosse helmet manufacturers 18. Macalester Football Parents Association 19. American Baseball Coaches Association 20. Players on the ASU football, hockey, and baseball teams In choosing customers to consider, we selected players, parents, coaches, and athletic training staff from several levels of play. Youth sports organizations, high school sports, college level sports, and adult leagues were all included. Professional athletes such as the National Football League were not considered because they can afford the more expensive, preexisting concussion detection helmets. Our inexpensive solution is for use primarily by athletes competing for non-profit organizations and clubs. We also considered helmet manufacturing companies, to make sure that our product is compatible with many types of helmets and sports. Our insert can be used in baseball, football, lacrosse, hockey, snowboarding, cycling, and construction helmets. We also listed several medical professionals who specialize in concussions, because depending on which air pockets in the helmet break, the doctors can identify which area of the brain was injured. Concussion prevention organizations were listed because they might provide either advertising or financial support for our product. Competitors~BYU created a helmet foam capable of assessing the severity of impacts. Nanoparticles rub against the foam generating a charge, which is detected by a microcomputer and wirelessly sent to a tablet operated by the coaching staff. 3 ~A concussion detection cap has been created using twenty-four FlexiForce Sensors placed on a nylon skullcap. The helmet is placed over the cap and the sensors can detect the pressure upon impact. 4 ~The Jolt Sensor is a small, clip-on sensor capable of detecting hard hits and alerting a smartphone through bluetooth.7 ~The UNEQUAL Protective Helmet Insert is a gel insert that protects against concussions. They have created multiple forms to fit in different types of helmets.9 
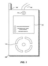
 IP PositionPatent A - No. 9,460,604 Assignee: LEAD TECHNOLOGY CAPITAL MANAGEMENT, LLC (N/A) Title: Multifunctional modular system for sensing and utilizing corporal dynamics and impact related forces File Date: June 24, 2013 Summary: “A sensor module that includes an outer casing configured to be removably inserted into a receptacle in an article of wear or sports equipment, a processor positioned within the outer casing, an accelerometer connected to the processor, a communications module connected to the processor, a proximity sensor connected to the processor, an identifier sensor connected to the processor, wherein the identifier sensor is configured to read an identifier connected to or embedded in an article of wear or sports equipment, and an alert module connected to the processor.” 
 Assignee: BrainScope Company, Inc. (Bethesda, MD) Title: Field-deployable concussion detector File Date: May 4, 2010 Summary: “A method and apparatus for providing an on-site diagnosis of a subject to determine the presence and/or severity of a concussion is provided. The method includes placing an electrode set coupled to a handheld base unit on the subject's head, acquiring brain electrical signals from the subject through the electrode set, processing the acquired brain electrical signals using a signal processing algorithm stored in a memory of the base unit, determining the presence and/or severity of a concussion from the processed signals, indicating the presence and/or severity of a concussion on the handheld base unit, and determining a course of treatment for the subject based on the indication.” 
 Assignee: Western New England University Title: Wearable article for detecting an impact and method of operation File Date: May 7, 2013 Summary: “A wearable article for detecting an impact to the head is provided. The wearable article includes a first flexible layer and a second flexible layer. A sensor is disposed between the first flexible layer and the second flexible layer. An indicator device is operably coupled to the sensor, the indicator device being configured to to provide a visual indication of the level of the impact.” 
 Assignee - Norman Ken Ouchi Title: Concussion Warning Apparatus File Date: December 11, 2009 Summary: “The present invention is related to detecting possible concussions due to blunt force blows or shocks to the head. In the present invention, areas of the athlete's head are covered with a blunt force blow indicating sheet prior to the possible concussion causing activity and the sheet is examined for indications of blunt force blows that may have caused a concussion. The athlete with indications of possible concussion is then examined to determine if the athlete suffered a concussion. The blunt force blow indicating sheet may be used to line a helmet or headgear used by athletes or the sheet may be shaped like a helmet for use in activities where headgear is not worn. Objects that may be subject to blunt force blows, during for instance shipping, is covered with the sheet to detect if the object experienced a blunt force blow that may have damaged the object.” 
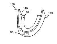
 Assignee: Philip Scott Lyren Title: Mouthguard that Detects a Concussive Impact File Date: Sep. 11, 2015 Summary: “A mouthguard detects when a wearer of the mouthguard receives a concussive impact. The mouthguard includes a U-shaped body and a concussion detection mechanism that undergoes a chemical or physical reaction when the wearer receives the concussive impact.” 
 Fundability WorksheetCustomer Validation (use a value of 1). 1; Our product is applicable in many different sports and activities, whereas competitor products focus mainly on the professional level (i.e. NFL, NCAA). Competitors. 2; Our competitor products are expensive and complicated, and usually only focus on the professional market. While numerous competitors exist, they use expensive technology to focus on either protecting or detecting, instead of a cheap, yet effective way to include aspects of both. IP Position. 1; A few patents exist that include different aspects of our design, and we have not filed a patent for our product. Works CitedBaugh, Christine M., et al. “Frequency of Head-Impact–Related Outcomes by Position in NCAA Division I Collegiate Football Players.” Journal of Neurotrauma, Mary Ann Liebert, Inc., 1 Mar. 2015, www.ncbi.nlm.nih.gov/pmc/articles/PMC4628259/.1 Nordqvist, Joseph. “Concussions Cause Long-Term Effects Lasting Decades.” Medical News Today, MediLexicon International, 9 June 2015, www.medicalnewstoday.com/articles/256518.php.2 Lumb, David. “BYU Develops Sports Helmet Foam for Real-Time Concussion Detection.”Engadget, 21 Sept. 2017, www.engadget.com/2017/09/21/byu-sports-helmet-foam-real-time-concussion-detection/.3 “FlexiForce Sensors Aid in Concussion Detection Research.” Tekscan, 6 Jan. 2017, www.tekscan.com/applications/flexiforce-sensors-aid-in-concussion-detection-research.4 “Head Case - Complete Concussion Managements.” Stats on Concussions & Sports - Head Case - Complete Concussion Managements, www.headcasecompany.com/concussion_info/stats_on_concussions_sports.5 “Traumatic Brain Injury & Concussion.” Centers for Disease Control and Prevention, Centers for Disease Control and Prevention, 6 July 2017, www.cdc.gov/traumaticbraininjury/index.html.6 Harvatine, Ben. “JOLT SENSOR.” How Jolt Works - Better Concussion Detection through Real-Time Head Impact Tracking, www.joltsensor.com/how-it-works/.7 “Concussion.” AANS, www.aans.org/Patients/Neurosurgical-Conditions-and-Treatments/Concussion8 “Gyro™ Helmet Liner.” Unequal® Technologies Company, unequal.com/gyro-helmet-liner.9 Joomla. “Home.” Riana, www.seeingstarsfoundation.org/index.php/en/.10 “About.” Concussion Legacy Foundation, 6 July 2017, concussionfoundation.org/about.11 “Home.” CORE Construction, www.coreconstruction.com/.12 “Riddell | Protect and Perform.” Riddell - A Leader in Football Gear, www.riddell.com/.13 “Barrow Neurological Institute.” Barrow Neurological Institute, barrow.phoenixchildrens.org/.14 “Concussion Care | Banner Health.” Proactive Care for Traumatic Brain Injuries, www.bannerhealth.com/services/concussion?locationname=banner-concussion-center.15 ImPACT Test, www.impacttest.com/.16 
 | ||||||||||||||||||||||||





