BME100 s2017:Group6 W8AM L1
| Home People Lab Write-Up 1 | Lab Write-Up 2 | Lab Write-Up 3 Lab Write-Up 4 | Lab Write-Up 5 | Lab Write-Up 6 Course Logistics For Instructors Photos Wiki Editing Help | |||||||||||||||||||
OUR TEAMLAB 1 WRITE-UPHealth Care IssueFalling, as elementary as it may sound, is a serious cause of injury in the United States. According to NIH Senior Health, “more than one in three people age 65 years or older falls each year…Each year, more than 1.6 million older U.S. adults go to emergency departments for fall-related injuries”. Also according to NIH Senior Health, “Among older adults, falls are the number one cause of fractures, hospital admissions for trauma, loss of independence, and injury deaths” [1]. In addition to the risk to older adults of falling, stroke recovery patients also suffer higher risk of falling. Per the article “Patient Falls in Stroke Rehabilitation”, “The risk of falls is very high among stroke patients, and falling is a major complication in stroke rehabilitation” [2]. This article explains that intrinsic mechanisms, such as postural instability and impaired balance, were frequent causes for falls among stroke patients. Since falling is often caused by imbalance, weight distribution on a patient’s feet is an effective way to study falls. When imbalance occurs, the weight distribution is altered from that of a balanced person. In order to study the weight distribution on the feet of patients, we developed a system that utilizes micro-pressure sensors in a orthotic type insert for shoes and a Bluetooth connector to relay information to a smart device. With this device, a physical/rehabilitation therapist or doctor would be able to place the device in the patient's shoes, and a display of weight distribution will be shown on the smart device. This will allow the therapist/doctor to determine if imbalance is an issue for a patient. This device will also be useful in other applications, such as research centers looking to study imbalance for various causes, or athletes looking to improve their balance to improve performance. Customer ValidationStroke survivors- Product would show where they put pressure when learning to walk/stand which can be used to assist the learning process. Post-surgery patients- Product would show where they put pressure when learning to walk/stand after having surgery that affected their legs/feet/balance which can be used to assist the learning process. Elderly people- Product would show where they put pressure when trying to stand which can be used to assist the learning process. War Veterans- Product would show where they put pressure when trying to stand which can be used to assist the learning process. Athletes- Product would show where they put pressure when walking/running to show if they are putting pressure in the wrong areas while doing so. Podiatrists- Use the information from the product to assist those with improper pressure distribution. Geriatric Nurses- Use the information from the product to assist those with improper pressure distribution. [3] -Use the information from the product to assist those with improper pressure distribution and to be able to find similarities/differences in what causes these distributions. Along with studying how people apply pressure when walking/standing/running. [4] -Use the information from the product to assist those with improper pressure distribution and to be able to find similarities/differences in what causes these distributions. Along with studying how people apply pressure when walking/standing/running. Dr. Lockhart- Use the information from the product to assist those with improper pressure distribution and to be able to find similarities/differences in what causes these distributions. Along with studying how people apply pressure when walking/standing/running. Adidas- Have the device built in to have comfort and function. Nike- Have the device built in to have comfort and function. Reebok- Have the device built in to have comfort and function. Hospitals- Send the patient home/use them under their care to track and measure the progress the patient(s) are making after an accident/surgery/etc... Surgery Centers- Send the patient home/use them under their care to track and measure the progress the patient(s) are making after an accident/surgery/etc… TOCA- Use the information from the product to assist those with improper pressure distribution and to be able to find similarities/differences in what causes these distributions. Along with studying how people apply pressure when walking/standing/running. Gentiva- Use the information from the product to assist those with improper pressure distribution and to be able to find similarities/differences in what causes these distributions. Along with studying how people apply pressure when walking/standing/running. Physical Therapists- Use the information from the product to assist those with improper pressure distribution and to be able to find similarities/differences in what causes these distributions. Along with studying how people apply pressure when walking/standing/running. Military- Use the information to show how to properly walk/run/sprint while carrying many pounds of equipment. Everyday people- Use the information to prevent knee problems later on in life. Obese/overweight people- Use the information to prevent knee problems later on in life. CompetitorsAdvantages:
Disadvantages:
IP PositionInsoles for footwear Publication number: US3143812 A Assignee: Scholl Mfg Co Inc File Date: September 22, 1961 Summary: An insole that is a mobile insert that helps to relieve tired feet, prevent or help with calluses on the plantar surface, as well as other support purposes. Made with thermoplastic, a cover layer, and a cushioning layer. Originally designed for women’s pointed shoe.
Method for design and manufacture of insoles Publication number: US7206718 B2 Assignee: Diapedic, L.L.C., Peter R. Cavanagh File Date: September 21, 2005 Summary: This is the methodology of producing the optimal insoles to help relieve pressure for individual patients. The method uses three dimensional imaging of a foot and the distribution of plantar pressure to identify the problem areas of the foot.
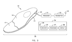
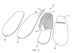
Insoles for tracking, data transfer systems and methods involving the insoles, and methods of manufacture Publication number: US 20110260857 A1 Assignee: Kristan Lisa Hamill File Date: April 22, 2010 Summary: An insole that has multiple layers that include a insole material, a flexible circuit layer, data transmitter, and data receiver. The data is transmitted wirelessly, which allows the tracking of the user. The product can be used to track both children and adults, especially senior citizens.
Intelligent Orthotic Soles Publication number: US20110275956 A1 Assignee: Es2 Llc File Date: July 19, 2011 Summary: A insole that can be custom made, used to analyze foot pressure, placed in the shoes of the user. The processing technology for the sensors can be placed internally with the sole itself, or externally in the shoe. There is the option of wireless connections to transmit information.
[No Image to Display For This Patent]
Publication number: CN104522932 A Assignee: 东莞市舒健鞋材有限公司 [Shu Jian Shoes Material Co., Ltd] File Date: December 5, 2014 Summary: This product uses a mobile control, a main control module, a Bluetooth module, radio frequency module, heating part, and a three dimensional motion sensor. The insole has two way communication, transmitting information like motion and temperature. Fundability Worksheet ScoresCompetitors
References[1]- National Institute for Health. "Falls and Older People" (n.d.). National Institute for Health, Senior Health. Retrieved 31 January 2017. <https://nihseniorhealth.gov/falls/aboutfalls/01.html>
| |||||||||||||||||||




