BME100 s2017:Group5 W8AM L1

From OpenWetWare
Jump to navigationJump to search
BME 100 Spring 2017 Home
People
Lab Write-Up 1 | Lab Write-Up 2 | Lab Write-Up 3
Lab Write-Up 4 | Lab Write-Up 5 | Lab Write-Up 6
Course Logistics For Instructors
Photos
Wiki Editing Help

OUR TEAM

Error creating thumbnail: File missing
Name: Matt Grudza
Error creating thumbnail: File missing
Name: Luis Paez
Error creating thumbnail: File missing
Name: Fernanda Nunez
Error creating thumbnail: File missing
Name: Smita Gopalakrishnan
Error creating thumbnail: File missing
Name: Anisa Ahamed
Error creating thumbnail: File missing
Name: Jenna Forrey

LAB 1 WRITE-UP

Health Care Issue

HIV test kits are not affordable to poverty-stricken nations that suffer the most from HIV/AIDS. In order to effectively test the people of these nations, the tests must become cheaper and simpler. Most tests now are expensive, with take-home tests costing around $45 being the cheapest. The at-home test that is being used by some today is known as OraQuick. This is a simple method where users simply swab their gums and place the swab into a solution and in 20 minutes there will be results. Although this is much more efficient and affordable to some, it is not affordable to those in third world countries that need it the most. It is very important that a device is made that is very cheap and easy to use to stop the HIV epidemic that is happening in other nations. Around 37.5 million people around the world are infected with AIDS, and 40% do not know their status (AVERT). The lack of an easy-to-use and affordable testing system is the reason for this great uncertainty. This is a huge problem and something has to be done about it. Millions of people die every year from AIDS, and this is due to them not knowing they are infected with the disease. This problem is prominent all of the world. A new test that consists of a simple cotton swab with color changing tips to show results would reduce the price greatly and would benefit all nations in need, as well as first world nations.

"OraQuick: In-Home HIV Test." In Home HIV Test | OraQuick. N.p., n.d. Web. 25 Jan. 2017.

"Global HIV and AIDS Statistics." AVERT. N.p., n.d. Web. 25 Jan. 2017.

Customer Validation

1. Aids Alliance for Children, Youth, and Families
(202) 785-3564
http://www.aids-alliance.org/

2. World Health Organization
(202) 974-3000
http://www.who.int/en/

3. UNAIDS (Joint United Nations Program on HIV/AIDS)
+41 22 791 36 66
http://www.unaids.org/

4. U.S. Department of Health and Human Services
(877) 696-6775
https://www.hhs.gov/

5. Health Resources and Services Administration
(877) 464-4772
https://www.hrsa.gov/index.html

6. Centers for Disease Control and Prevention
(404) 639-3311
https://www.cdc.gov/

7. Toltec Ventures
(303) 513-1181
http://toltecventures.com/

8. AVERT (AVERTing HIV and AIDS)
+44 (0)1273 947749
http://www.avert.org/

9. The Global Fund
+41 58 791 1700
http://www.theglobalfund.org/en/

10. FHI 360 (Family Health International)
(919) 544-7040
https://www.fhi360.org/

11. International AIDS Society
+41 22 710 0800
https://www.iasociety.org/

12.Global Strategies
(415) 451-1814
https://www.globalstrategies.com/

13. Elizabeth Taylor AIDS Foundation
(310) 432-9600
http://elizabethtayloraidsfoundation.org/

14. AIDS Healthcare Foundation
(323) 800-5200
https://www.aidshealth.org/#/

15. The Elton John AIDS Foundation
(212) 219-0670
http://ejaf.org/

16. AIDS United
(202) 408-4848
https://www.aidsunited.org/

17. RUSH Foundation
(601) 703-9393
http://rushfoundation.org/

18. UNICEF
(800) 367-5437
https://www.unicef.org/

19. Doctors Without Borders
(212) 679-6800
http://www.doctorswithoutborders.org/

20. HIV Smart Campaign
http://hivsmart.org/contact/ (link to email them)

Competitors

Product Advantages Disadvantages
OraQuick results in 20 minutes (at home)
91.7% accurate for people with HIV
99% accurate for people not infected with HIV
Noninvasive, saliva is tested
$39, too expensive for third world countries
One must have three months since their exposure to HIV in order for the test to be considered accurate.
Oral In Home Saliva Test For HIV 1 and 2 (WalMart) Results in 20 min (at home)
Non invasive, uses saliva
$22.65 (cheaper than alternative aids testing methods, but still very costly for third world countries)
Test is specific to ages 8-11
Not very accurate
Lack of research information regarding accuracy of the product
Home Access HIV Test Results developed in lab
High accuracy
7-10 days for results
Uses blood- invasive
$41, too expensive for third world countries
Home Access Express HIV-1 Home Test Kit Results developed in lab
High accuracy
3 days for results
Uses blood- invasive
$59.99, too expensive for third world countries
BioSure HIV Self Test No waiting for results to come back from lab, ready in 15 minutes
99.7% accurate from 3 months after suspected exposure to the infection
Only available in the U.K., meets European quality standards
Uses blood- invasive
£29.95 ($37.73 US Dollars)
Autotest VIH 100% accurate for HIV-positive individuals
99.8% accurate for HIV-negative individuals
Test takes 5 minutes, results in 15 minutes
Only available in France, meets European quality standards
Uses blood- invasive
€29,95 (32.17 US Dollars), too expensive for third world countries

Unmet needs:
-Financial/changing technology can make HIV/AIDS testing cheaper
-Nanotubes ($15 per g, only .05g is needed for product) - $0.75
-Nanotubes can be used to grow antibodies testing for HIV/AIDS, so antibodies would be located on cotton swab (no testing solution needed) and would be designed to change color based on whether or not one is infected with HIV/AIDS
-Paper spindle (51.0 grams) - $0.027/ 21.7g of paper - total cost for one spindle - $0.06
-Recycled Plastic for casing - $0.58/ lb
-TOTAL COST OF RAW MATERIALS - <$1.39
-General start up cost of a business - $30,000
-General start up cost of microbusiness - $3,000

There are currently various kinds of tests to test for HIV/AIDS. The primary disadvantages with these available tests are their high costs, invasive techniques, which utilize blood samples for tests, or slow results from labs. Our device is more marketable, because it avoids the majority of these disadvantages. Since our product only requires a cotton swab and solution or a nanotube, our product will be relatively cheap to produce. Additionally, the product will only require saliva for the tests, eliminating the invasive method of pricking your finger for blood. Lastly, the color changing aspect of the cotton swab or nanotube allows for quick and readily available results.

IP Position

US Application: US20090306543A1
File Date: Jan 27, 2005
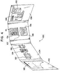
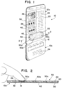
OraQuick has 54 patents concerning home testing for infectious diseases, and 30 related to HIV diagnosis based on saliva and oral fluids. This patents specify generally for a “sample collection device and test system”, specifying for the sample collection, the physical design, and details of the product, and for the test system an absorbent pad with an indicator to show the results. The device is designed to have two absorbent pads, one for the collection of the saliva sample communicated with a second absorbent pad with the indicator that have the solution for the antibodies.The absorbent pad is used to swab the gums of the mouth and collect a sufficient sample of saliva in a split (fork-shaped) collection pad. This is then placed into the the solution, and in 20-25 minutes after the solution mixes with the sample specimen results will appear in the form of a red line. This patent specifies all of the technology used in this device and how it works.
Error creating thumbnail: File missing Error creating thumbnail: File missing Error creating thumbnail: File missing
URL: https://www.google.com/patents/US7618591

Application number: US08692445
File Date: August 5, 1996
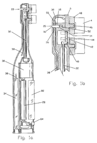
Rapid and accurate antibodies device detector for HIV/AIDS diagnosis. It uses solid phase immunoassay for the detection of antiviral antibodies. Preferably, the patent specify, this detection is add with an enzyme that reports the user with an easier readable diagnostic marker. The operation is through the insertion of the saliva and mixture with the chemical, and which can contain the enzyme at the place or in a different compartment. The patent is expired.
Error creating thumbnail: File missing Error creating thumbnail: File missing
URL: https://patents.google.com/patent/US5695930A/en?q=hiv&q=saliva&q=diagnostic

Application number: EP19950309024
File Date: December 12, 1995
Home testing system for detection of HIV and AIDS through the collection of a blood sample and submission to a laboratory for analysis. The device absorbs the blood sample in a planar parallel surface and retains the dry blood until is available for lab analysis. It also contains the instructions written in the front of its surface.
Error creating thumbnail: File missing Error creating thumbnail: File missing
URL: https://patents.google.com/patent/EP0717283A2/en?q=hometest&q=hiv&q=aids&q=saliva

US Grant: US6623698B2
File Date: March 12, 2001
Expired patent for an electrical toothbrush device for HIV diagnosis and other bio-marks through saliva collection and diagnosis through measurement in signals collected by sensors. The head of the toothbrush device promotes the saliva production and collection, generating a bigger data sample to measure. The device contains a microprocessor and a reagent, which through the sensors in the channel of the brush transform the signals in readable data for the user. The bio-marks that the device attempt to measure include: pregnancy, fertility periods, alcohol concentration and blood glucose.
Error creating thumbnail: File missing
URL: https://patents.google.com/patent/US6623698B2/en?q=hiv,AIDS&q=saliva&q=diagnostic&q=device

Fundability Worksheet Scores

Competitors
Chart Ranking: 2
Many organizations are prevalent that advocate for the diagnosis and prevention of HIV/AIDS, especially companies that are willing to distribute medical products to underprivileged areas. We did not give this a 3, because there are other similar devices for HIV testing that organizations may already be accustomed to and use.

Customer Validation
Chart Ranking: 2
There are existing competitors such as OraQuick, but there are various methods for improvement. Size, cost, overcoming social stigma, and quicker results are some of the features we seek to improve with our product.

IP Position
Chart Ranking: 3
Since there are already products similar to this on the market, it will not be hard to get the FDA’s approval to release this to the general public. There is nothing dangerous or intrusive about this device, and there are similar devices that have already been approved (OraQuick).