BME100 f2017:Group7 W0800 L1
|  BME 100 Fall 2017 | Home People Lab Write-Up 1 | Lab Write-Up 2 | Lab Write-Up 3 Lab Write-Up 4 | Lab Write-Up 5 | Lab Write-Up 6 Course Logistics For Instructors Photos Wiki Editing Help | ||||||
|   | |||||||
| OUR TEAMLAB 1 WRITE-UPHealth Care Issue
 Customer Validation
 Competitors
 IP Position
 -US8690799B2/JP Morgan Chase Bank -Filed 10/14/2010 -Has dual sensors to reduce error from extra sounds -Sound is first passed through acoustic chambers -Sensors are connected to a machine to evaluate the sound
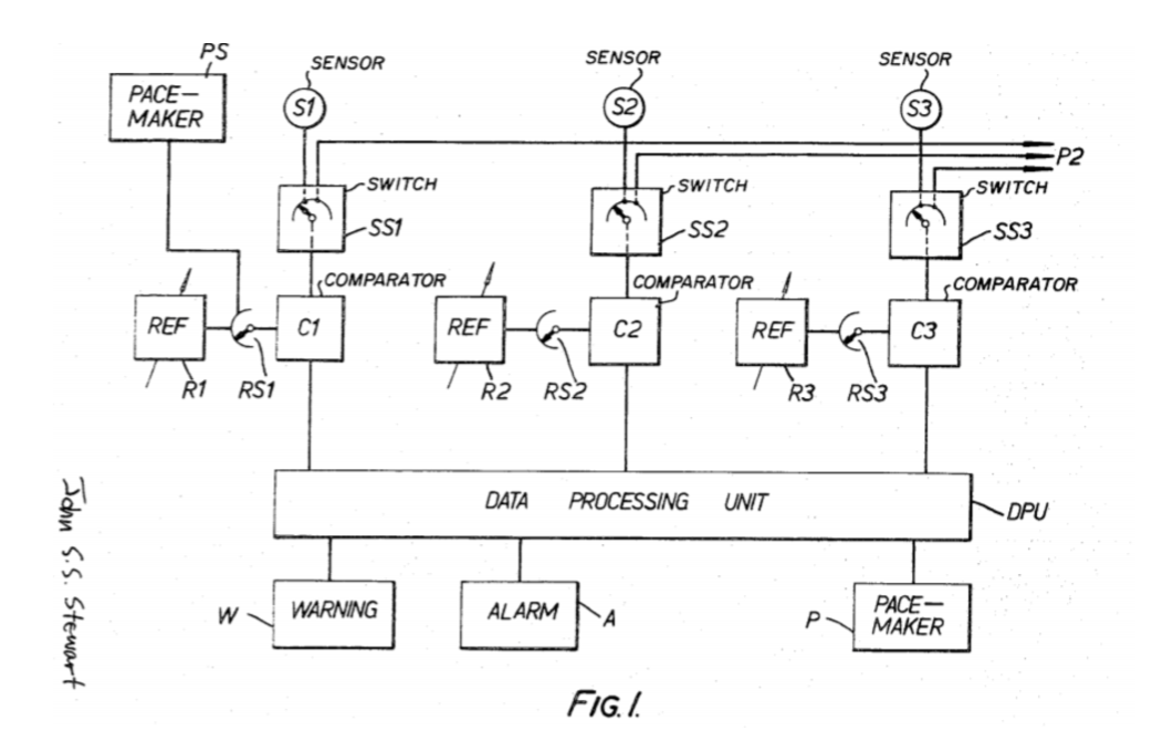
 Multiple sensors with the capability of tripping an alarm (EXPIRED) https://patents.google.com/patent/US3618592A/en?q=A61B5%2f0205 -US3618592A/John Stewart Simpson Stewart -Filed 08/11/1969 -Detects a patient’s medical condition by a means of a sensor system -Each sensor monitors a specific condition and switches between normal, below normal, and above normal -Two abnormal signals at the same time will trigger an alarm Physiological Monitor and Display System (Possibly Expired due to fee) https://patents.google.com/patent/US6790178B1/en?q=A61B5%2f02438 -US6790178B1/Microlife Medical Home Solutions Inc. -Filed 9/25/2000 -Connects physiological monitor to computing device such as PDA or computer. -Comprised of an EKG monitoring system that sends data to computing device. -Must have a 2-piece separate connector to transfer data from sensor to computing device.
 Fundability Worksheet ScoresCompetitors The market for pulmonary sensors seems to be slim and need of improvement, mainly due to the inaccuracy and inconvenience of previous devices. It is believed that the pairing of a cardiac sensor and a pulmonary sensor can increase the accuracy of detection of respiratory distress. Many of the current technologies out there require some sort of hand held spirometer, a belt requiring wired connectivity to an inconveniently sized data processor, or are simply meant to monitor cardio-pulmonary information for exercise purposes. Customer Validation No actual pulmonologists were actually contacted for this. However, a couple of family members with an asthmatic child and several other parents were asked if they would be interested in such a device and all expressed interest, even when a price of $250 was brought up. It was determined that a highly accurate device that can be preventative in respiratory emergencies would attract a lot of attention/validation from the masses. IP Position A lot of the current patents for this kind of technology seem to be expired or referencing different kinds of sensors. It should be relatively easy to obtain a patent for the technology that is wanted and there are many ways to tweak our design if a similar technology happens to be out there. 
 | |||||||



