| 
 OUR TEAMLAB 1 WRITE-UPHealth Care IssueAsthma is a pulmonary condition in which airways constrict and produce excess mucus. The true cause of asthma is unknown, but many specialists believe it develops due to several genetic and environmental factors. Common symptoms of asthma include wheezing, coughing, chest tightness, and shortness of breathe. These symptoms can become fatal if not treated immediately, so people who suffer from asthma often have to carry a rescue inhaler with them at all times. Exposure to allergens and irritants such as smoke or pollen can trigger asthma symptoms. Asthma affects people of all ages, but young children with allergies have a higher risk of developing asthma. There is no known cure for asthma at the moment, but it has become a very manageable disease and allowing people to live regular lives with little to no interruption from it.
 Competitors      The greatest unmet need in the field of asthma treatment appears to be dependence on the inhaler.
Nearly every treatment requires use of an inhaler of one sort or another, due to its speed and effectiveness for immediate symptom relief. Inhalers are necessary due to how hard it is to predict when an asthma attack will happen and due to the riskiness of the patient’s symptoms. Since the restriction of chlorofluorocarbons, inhalers have become even more expensive in the United States. The problem with having an inhaler is less medical than it is
practical. Carrying an inhaler everywhere becomes a burden, and it is easy to forget to bring it. Their compact design is convenient, but inhalers are lost easily, especially in the hands of young asthma sufferers. Replacing an inhaler that is lost is not financially sensible, so a clear gap exists between inhaler manufacturers and inhaler users. 
   
| Treatment | Advantages | Disadvantages | Costs |  
| Salbutamol | Works faster than many other medications (on demand symptom relief as a short acting beta agonist) | *inhalant, so during an asthma attack it can be hard to fully administer the medication | Approximately $3,600 |  
|  |  | *Small inhalers, although convenient, can be harder to find in an emergency | $300 per inhaler |  
|  |  | *Must be taken everywhere, can be easy to forget to bring |  
|  |  | *Not as preventative as Symbicort or other inhaled steroids |  
| Theophylline | Daily pill treats mild asthma and nighttime symptoms | *Preventative, not an immediate symptom relief | Approximately $240 per year |  
|  |  | *Can cause insomnia | $40 for a bottle of 60 pills |  
| Long- acting beta agonists (Salmeterol, formoterol) | Opens airways and reduces swelling for at least 12 hours | * Have been linked to asthma attacks | Approximately $2,580 per year |  
|  | Primarily for nighttime symptoms and preventative measures | *Taken in combination with an inhaled corticosteroid | Approximately $430 per 60 treatments |  
|  |  | *Patients still use Salbutamol rescue inhalers |  
| Symbicort (budesonide/formoterol) Maintenance And Reliever Therapy | Better than Salbutamol for reducing risk of asthma attacks and preventing asthma from worsening | *Patients still use an inahled corticosteroid or bronchodilator for immediate symptom relief | Approximately $4,800 per year |  |  
|  | Patient spends fewer days on oral corticosteroids than with Salbutamol | *Very expensive with no generic option | Approximately $400 per canister |  
| Salmeterol/Fluticasone plus Salbutamol | Both preventative and on demand symptom relief | *Also an inhalant, use during an attack can be difficult | Ranges from $1,346 per year to 2,340 per year |  
|  |  | *Can increase risk of having a severe asthma attack |  
|  | Used for chronic asthma | *Not as frequently used for symptom relief as a salbutamol inhaler due patients' symptom severity | $112-$200 per canister |  
|  |  | *Can delay children's growth |  
|  | Used twice daily | *Patients still use salbutamol inhalers during attacks |  
| Beclomethasone | Preventative inhaled steroid | *Patients still use Salbutamol reque inhalers | Approimately $756 per year |  
|  |  | *Can delay children's growth |  
|  | Used twice daily | *Primarily a preventative treatment, not used for symptom relief | $50-$63 per canister |  
| Triamcinolone | Preventative inhaled steroid | *Patients still use Salbutamol rescue inhalers | Approximately $864 per year, $72 per canister |  
|  |  | *Can delay children's growth |  
|  | used twice daily | *Primarily preventative, does not function well for symptom relief |  
| Budesonide | Preventative inhaled steroid | *Patients still use rescue inhalers | Approximately $3,504 per year, $292 per canister |  
|  | Used twice daily | *Can delay children's growth |  
|  |  | *Primarily preventative compared to Salbutamol |  
| Flunisolide | Preventative inhaled steroid | *Patients still use rescue inhalers | Approximately $852 per year, $71 per canister |  
|  | Used twice daily | *Primarily preventative compared to Salbutamol |  
|  |  | *Can delay children's growth |  
| Montelukast | Prevent symptoms for up to 24 hours | Risk of psychological reactions | Approximately $200 for 30 pills, meaning approximately $2,400 per year |  
|  |  | *Preventative, not symptom treatment |  
| Zafirlukast | Prevent symptoms for up to 24 hours | *Preventative treatment | Approximately $840 per year |  
|  |  | *Patient must remember to take it |  
|  |  | *Most patients continue to use inhalers |  
| Zileuton | Prevent symptoms for up to 24 hours | *Preventative treatment | Could cost up to $10,440 per year - $1,600 for a 60 pill count bottle |  
|  |  | *Patients must remember to take it |  
|  |  | *Most patients continue to use inhalers |  
 
 
 Customer ValidationPatient Asthma patients 
 Payer Insurance companies
 
 Physician Pulmonary specialists
 
 Provider Hospitals, clinics, allergy centers
 
 Purchaser 3M Drug Delivery Systems
 
 
 IP Position
| IP POSITION |  
| 4.1 | Patent Landscape | The patent landscape is fairly open. There is one pending patent for the inclusion of an inhaler in a bracelet; however, the current patent does not include a pulse oximeter or monitoring system |  
| 4.2 | IP Risks | There is a possibility that our device will infringe on the basic design concept of an inhaler in a bracelet and the vibration monitoring system software |  
| Number/Assignee | Title | Summary | Image | Filing date/Status |  
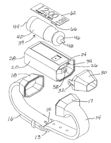
| US20160101248A1 | Wearable Wrist Inhaler | A wearable wrist brand with a fully removable inhaler. This technology enables the user to remove the inhaler when needed and insert refillable canisters when the previous canister is empty. Additionally, this band displays the date, time and remaining doses in the current canister on the face of the band | Error creating thumbnail: File missing | 2015-10-12 Pending |  
| US20160129182A1 | Vibration sensor based drug delivery monitor | This device attaches to drug delivery devices (i.e. inhalers) to alert the user based on a given/predetermined event. The device displays information on a separate smartphone, tablet or computer. | Error creating thumbnail: File missing | 2016-01-14 Pending |  
| US5490523A | Finger clip pulse oximeter | A personal, portable device used to monitor the saturation percentage of oxygen in blood. This device takes reading by attaching to the fingertip, making it more convenient, portable and reliable. | Error creating thumbnail: File missing | 1994-06-29 Expired |  
 Fundability Worksheet ScoresCompetitors 3: Value proposition will easily displace any competition. Because the asthma medication market is generally dominated by top inhaler companies such as Propeller Health, with only the basic inhaler method, having a wristband monitor along with medication technology should easily serve as a new and improved design. 
 Customer Validation 3: Masses have expressed interest to purchase. Although the majority have agreed to further investigate the idea, some are skeptical about the feasibility of the basic design itself..
 
 IP Position 3: The device would not be invasive and there are no existing patents for a device are exactly like ours. There are other devices aimed for an inhaler to be in a bracelet but none have a pulse oximeter or monitoring system. Our goal with the device is to actually monitor the symptoms of an incoming asthma attack and prevent that with a technology that has not been patented yet. No drugs would be used so it would not require much regulation.
 
 
 
 
 
 References:
 National Institutes of Health. (2014, August 4). What is Asthma. Retrieved September 6, 2016, from NHLBI, NIH: http://www.nhlbi.nih.gov/health/health-topics/topics/asthma
 Finger clip pulse oximeter. (n.d.). Retrieved September 6, 2016, from Google Patents https://patents.google.com/patent/US5490523A
 GoodRX.com (2016).  GoodRX.  Retrieved September 4, 2016 from goodrx.com
 Howrylak. J. A. Fuhlbrigge. A. L. Strunk. R. C. Zeiger. R. S. et al. (2014)  Classification of childhood asthma phenotypes and long-term clinical responses to inhaled anti-inflammatory medications. 133 (5).  10.1016/j.jaci.2014.02.006
 Inhaler Vendors and Their Comparison Including Market Share. (2013, February 5).  How to use Inhalers: Interactive Guidance & Management  . Retrieved September 4, 2016, from http://use-inhalers.com/inhaler-vendors-and-their-comparison-including-market-share
 Johansson. G. Andreasson. E.B. Larsson. P.E.  Vogelmeier. C.F. (2006)  Cost Effectiveness of Budesonide/ Formoterol for Maintenance and Reliever Therapy versus Salmeterol/ Fluticasone plus Salbutamol in the Treatment of Asthma. 24(7).   695-708 doi:1170-7690/06/0007-0695.
 Makela. M.J. Backer. V. Hedegaard. M. Larsson. K. Adherence to inhaled therapies, health outcomes and costs in patients with asthma and COPD.  Respiratory Medicine  . May 2013. 10.1016/j.rmed.2013.04.005.
 Mayo Clinic Staff. (2016). Asthma medications: Know your options.  Mayo Clinic.  Retrieved September 3, 2016 from http://www.mayoclinic.org/diseases-conditions/asthma/in-depth/asthma-medications/art-20045557
 Partners Asthma Center. (2010). Chapter 22.  Partners Healthcare Asthma Center 
 Rosenthal. E. (2013, October 12). The soaring cost of a simple breath.  The New York Times  A1. 
 Vibration sensor based drug delivery monitor. (n.d.). Retrieved on September 6, 2016, from Google Patents https://patents.google.com/patent/US20160129182A1
 Wearable Wrist Inhaler. (n.d.). Retrieved on September 6, 2016 from Google Patents https://patents.google.com/patent/US20160101248A1/en
 
 
 
 
 |