|
OUR TEAM
LAB 1 WRITE-UP
Health Care Issue
Chronic Pain
Chronic pain is a broad symptom or disease in which there is a site of pain that lasts for months to years. It can be a result of many different events such as an intensive back surgery or a difficult sprain, or because of diseases such as fibromyalgia or postural orthostatic tachycardia syndrome (POTS). There are even many cases where there doesn't even appear to be a cause outside the nervous system. These diseases and prolonged pain all relate to the nervous system.
Exact statistics vary greatly depending on which diseases a study considers a chronic pain causer. One study by the U.S. Department of Health and Human Services cites that about 65 million Americans experience severe pain that lasts more than 3 months[1]. Another 1 to 3 million Americans have POTS which can lead to chronic pain according to the Dysautonomia International Organization[2]. Fibromyalgia, Multiple System Atrophy, Complex Regional Pain Syndrome, and many more are disorders and diseases that attribute to a 24/7 state of pain that adversely affects the patient's way of life.
There are many ways in which a patient can manage their pain, and much research has been put into finding better ways of accomplishing pain relief. Among them are medications such as analgesics or narcotics, however one of the largest problems with long term pain medications are additional potentially serious side effects, addiction, and lethal tolerance build up. Other non-drug techniques are beginning to be more sought after such as acupuncture or massage, however these forms are not feasible by the patient alone. This particular solution involves the use of a more personal form of biofeedback. It is the process of learning to exert some degree of control over an autonomic function of the body, using biometric data feedback given to the patient.
[1] National Center for Complementary and Integrative Health (NCCIH). (August 11, 2015). NIH Analysis Shows Americans Are In Pain. Retrieved from https://nccih.nih.gov/news/press/08112015
[2] Dysautonomia International. (n.d.). What is Dysautonomia. Retrieved from http://www.dysautonomiainternational.org/page.php?ID=34
Competitors
Current competitors in this specific area of medicine include a sensor that clips onto one's index finger and displays simple statistics such as heart rate and blood oxygen levels at the instant the finger is placed in side the device. Our prototype will be more user friendly and will consist of sensor clips that relay data to a pad and computer then to an app on your phone for a more on the go use. It is meant to help you in between doctor visits and make them less frequent.
Advantages
An advantage our device has over other devices is it can be stashed in a bag and brought out when ever needed instead of going in to a doctor and being hooked up to one of the larger machines.
Some general advantages of biofeedback devices over alternatives is that it is a non drug way to deal with long term pain, what this really means is that there is no adverse side effects and no limit to how many times you can use it.
Disadvantages
Our device will not be able to monitor everything the big devices can it will only be keyed to certain things.
One major disadvantages of biofeedback devices over alternatives is that it is not as potent as a drug can be and won't make all the pain go away.
Customer Validation
Patient
Patients would look forward to using our device becasue of the ease of use as well as saving themselves a trip to the hospital. Being able to check patient vitals from the comfort of their home will now be easier with the ability to track their HR and Blood O2 to manage their health to better aide in controlling pain.
Payer
Reducing the upfront cost or even eliminating the cost of a doctors visit with a simple device will be in the best interest of insurance companies. By providing a device that is a fraction of the cost of a visit to the doctors not only saves insurance and patients time, but also means that there is no unnecessary waste of resources. [1]
Physician
Giving patients who always come into the hospital to have their vital checked for chronic pain never has had easy alternatives; Now with our device a doctor can check/monitor their patients' simple vitals without having to see them regularly. The device records and monitors the HR and Blood O2 via bluetooth to a mobile app on the patients phone, making it easier for doctors to fetch the trends and changes in those vital signs. The device, as well as tracking vitals and trends can be used as a form of therapy that a patient can use to learn how to control their pain; ultimately reducing treatment costs.
Provider
Hospitals and even clinics would be interested in our device for much of the same reason physicians would like it. They can kept their patients comfortable and at home while remotely fetching some of the vitals they need to keep track of. This allows for providers to have a patients be an out patient rather than an in patient, saving time and money and lives. [2]
Purchaser
For out-of-pocket purchasers the main reason they would be interested in our device is because they would like to keep track of their health from their own home They would reduce hospital visits and preform as many checks as they would like on their vitals as they please, using their recorded data to their benefit and help the buyers reduce their pain.
[1]
[2]
IP Position
| Number/Assignee |
Title |
Summary |
Image |
Filing date/Status
|
| US 7598878 B2/ Rami Goldreich |
Method and Device for Measuring Physiological Parameters at the Wrist |
The device measures a parameter of the subject, such as heart rate, blood pressure, oxygen level, etc., and records via wireless communication. The intent of the product is to have information that can be useful to the patient or be used on a clinical scale. |
 |
December 10, 2002
|
| US 2004/0152961 A1/ Sven-Erik Carlson |
Device for Monitoring a Patient |
The device aims to record and monitor the user's medical information, specifically the blood properties for diseases such as cardiovascular conditions or diabetes. It utilizes two features that monitor the heart and any irregularities which it then can report to the user and/or a third party, with the additional use of a GPS location system. |
 |
May 7, 2002
|
| US 2009/0054751 A1/ Bruce Babashan et al. |
Touchless Sensor for Physiological Monitor Device |
The device uses pulse oximetry sensors to monitor heart rate and blood oxygen levels which are then communicated with a microcontroller to analyze the data. This is then displayed on the monitor of the watch-like device through digital means. |
 |
August 22, 2007
|
| US 2013/0172691 A1/ Bao Tran |
Health Monitoring Appliance |
The device is a heart monitoring system which utilizes a system of wireless networks to communicate the results of the wireless body sensor. This information is then used to communicate if a patient is in distress and/or in need of medical assistance, it is also able to call a third party if needed. |
|
November 29, 2012
|
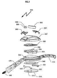
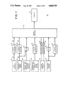
| US 4860759 A1/ Alan R Kahn et al. |
Vital Signs Monitor |
This device is a vital signs monitor which uses several sensors, including a finger probe and blood pressure cuff system, to monitor a user. The information gathered by the sensors are then sent to a microcomputer which analyzes it and shows the result on the display. A unique feature is the warning messages that are displayed on the watch-like monitor if vital signs are atypical. |
 |
September 8, 1987
|
| US 4450843 A1/ George M Barney et al. |
Miniature Biofeedback Instrument |
The device is used to monitor and provide biofeedback desired by the user. Comprised of several units, it is able to report temperature, heart rate, and rate of change of both temperature and heart rate. It is also able to display date and time, allowing for a selective display that can be controlled by the user. |
 |
November 24, 1980
|
Fundability Worksheet Scores
Competitors
2 - Multiple products already that utilize the readings that our device uses, however the majority of them are cumbersome and require a lot of setup. The product we designed is made for portable and quick use to monitor patients from the comfort of their homes.
Customer Validation
2 - Customers always want more mobile and accurate technology to have at their fingertips (literally in this case). This product not only brings more mobility to the table than the average consumer is used to, but a user-friendly interface where they feel comfortable looking at their own vital signs and are able to tell when something is wrong or different.
IP Position
1- There are currently no patents that we have filed or attempted. There is room for our device, and patents that protect the intellectual property.
|