BME100 f2016:Group3 W1030AM L1

From OpenWetWare
Jump to navigationJump to search
BME 100 Fall 2016 Home
People
Lab Write-Up 1 | Lab Write-Up 2 | Lab Write-Up 3
Lab Write-Up 4 | Lab Write-Up 5 | Lab Write-Up 6
Course Logistics For Instructors
Photos
Wiki Editing Help


OUR TEAM

Name: Kaycee Bischoff
Name: Ravyn Ogden
Name: Lauren Hudson
Name: Nya Griffin
Name: Maddie Howell
Name: Your name

LAB 1 WRITE-UP

Health Care Issue

The recent price increase for the Epipen epinephrine auto-injector from $100 to $608.61 for a two-pen set ( http://well.blogs.nytimes.com/2016/08/22/epipen-price-rise-sparks-concern-for-allergy-sufferers/ ) has caused many severe-allergy sufferers to pay greater out-of-pocket costs for the previously affordable product or in some cases forgo purchasing Epipens altogether. Epipens treat anaphylactic shock caused by severe allergic reactions by administering a dose of epinephrine through intramuscular injection which reduces swelling and opens airways restricted during anaphylactic shock ( http://www.allergy.org.au/patients/allergy-treatment/adrenaline-for-severe-allergies). In addition the cheaper auto-injector alternative, Adrenaclick is “widely unknown” by many pharmacists, and requires different instruction in administering the correct dose, which patients do not always receive ( http://acaai.org/resources/connect/letters-editor/letters-to-web-editor-6 ). Our solution consists of a self-administering epinephrine delivery device as a cheaper, more reliable product with less potential for human error.

Sources:

Parker-pope, Tara, and Rachel Rabkin Peachman. "EpiPen Price Rise Sparks Concern for Allergy Sufferers." The New York Times. The New York Times, 22 Aug. 2016. Web. 07 Sept. 2016.
"Adrenaline for Severe Allergies." Australasian Society of Clinical Immunology and Allergy. ASCIA, n.d. Web.
"Generic Epinephrine Injector May Cause Confusion." ACAAI. N.p., 14 Jan. 2015. Web. 07 Sept. 2016. 




Competitors

EpiPen
Advantages
EpiPen is a fast and effective way to treat an allergic reaction. The company makes both an adult(0.3 mg) and child(0.15 mg) version. Many people are used to using it, and or are trained to use it. The directions for using it are also printed directly on the injector.

Disadvantages
You are only able to administer 2 doses before having to turn health care professional for further help treating the reaction. After administering the epinephrine you should go to a hospital immediately. Only inject into middle of the outer thigh and avoid veins as much as possible. Injecting yourself or others can sometimes be very scary. Patients who have used EpiPen recently maybe develop an infection at the site of injection. This does not always occur, but it is possible. EpiPen's price has increased from $100 in 2007 to $614 today and is now starting to not be affordable for some people. Remembering to carry the device around wherever you go can also be a hassle for some people.

AdrenaClick
Advantages
AdrenaClick is a fast and effective way to treat an allergic reaction. The company makes both an adult(0.3 mg) and child(0.15 mg) version. The directions for using the injector are printed directly on the injector. This is also known as the cheaper option compared to EpiPen.
Disadvantages
You are only able to administer 2 doses before having to turn health care professional for further help treating the reaction. After administering the epinephrine you should go to a hospital immediately. Only inject into middle of the outer thigh and avoid veins as much as possible. Injecting yourself or others can sometimes be very scary. Not many people are trained on using AdrenaClick either, making it even scarier to inject people. Remembering to carry the device around wherever you go can also be a hassle for some people. The device must also be stored at 68-77 °F, you may however hold the device at 59-86°F for brief periods of time.

Sources:

"The Official Website for EpiPen® (epinephrine) and EpiPen Jr® (epinephrine) Auto-Injectors." EpiPen. N.p., n.d. Web. 07 Sept. 2016. https://www.epipen.com/.
Court, Emma. "Mylan's EpiPen Caught the Full Force of Drug Price Outrage Because It Was the Perfect Target, Not Because It Was the Only One." MarketWatch. N.p., 02 Sept. 2016. Web. 07 Sept. 2016. 
http://www.marketwatch.com/story/mylans-epipen-caught-the-full-force-of-drug-price-outrage-because-it-was-the-perfect-target-not-because-it-was-the-only-one-2016-08-31?siteid=yhoof2&yptr=yahoo. 
"What Is Anaphylaxis?" What Is Anaphylaxis? Adrenaclick, n.d. Web. 07 Sept. 2016. http://adrenaclick.com/what_is_anaphylaxis.php.

Customer Validation

Patient
Patients would want a different method of delivery for epinephrine because of the difficulty for younger people to inject it and because of how scary the injection can be. This new method would be more desirable because of the simplicity in pushing a button over stabbing yourself in the leg. The new device would end up being much cheaper than the EpiPens that out now.

Payer
Insurance companies would prefer this new device because it would be cheaper than the EpiPens that are on the market right now.

Physician
Physicians would want to introduce this new delivery system because it would allow for them to preform more minimally invasive surgeries, these surgeries would be short, too, to allow for more of them to be preformed. By preforming more of these surgeries the physicians would get to get paid for more operation room time.

Provider
The hospitals and doctor offices would prefer this new device because it would produce an influx of people trying to get this procedure done.

Purchaser
Outside pharmaceutical companies who want to compete with epinephrine delivery devices, such as EpiPens (made by Mylan) or Adrenaclicks (made by Amedra), would want this new option because its uniqueness would draw in customers who are seeking alternatives.

Sources:

Mangan, Dan "This Chart Shows Why Everyone's Angry about Soaring Price of Lifesaving EpiPen." CNBC. CNBC, 23 Aug. 2016. Web. 07 Sept. 2016. http://www.cnbc.com/2016/08/23/this-chart-shows-you-why-a-lot-of-people-are-angry-about-the-price-of-epipen.html 
"Epinephrine - Food Allergy Research & Education." Epinephrine - Food Allergy Research & Education. Food Allergy Research and Education, n.d. Web. 07 Sept. 2016. https://www.foodallergy.org/treating-an-allergic-reaction/epinephrine 
"Mylan Hit with Class Action Lawsuit over EpiPen Pricing." Reuters. Thomson Reuters, 06 Sept. 2016. Web. 07 Sept. 2016. <http://www.reuters.com/article/us-mylan-nl-prices-lawsuit-idUSKCN11C284>.

IP Position

Number/Assignee Title Summary Image Filing Date/Status


WO 2014127018 A1 Epinephrine formulations for medicinal products This patent protects a new formula of epinephrine consisting of “epinephrine...a tonicity modifier and a complexing agent in an aqueous solution” for medicinal use, creating a formula that has a greater shelf life despite lacking the commonly used salt sodium metabisulfite which carries a risk of “severe allergic reaction”. https://www.google.com/patents/WO2014127018A1?cl=en&dq=epinephrine&hl=en&sa=X&ved=0ahUKEwiXkryHy-7OAhVN8mMKHYbMAW0Q6AEIMzAD N/A Feb 12, 2014


WO 2014057365 A1 Stable injectable pharmaceutical composition of epinephrine or salts thereof This patent protects the formulation of epinephrine that involves the addition of the salt, sodium metabisulfite, in order to increase the purity and shelf life of epinephrine. https://www.google.com/patents/WO2014057365A1?cl=en&dq=epipen&hl=en&sa=X&ved=0ahUKEwi3hpSWsOzOAhXGBywKHexcBZoQ6AEILjAC Table of the total % impurities of the patented epinephrine formulation versus Epipen formulation https://www.google.com/patents/WO2014057365A1?cl=en&dq=epipen&hl=en&sa=X&ved=0ahUKEwi3hpSWsOzOAhXGBywKHexcBZoQ6AEILjAC May 3, 2013


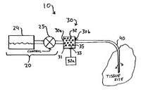
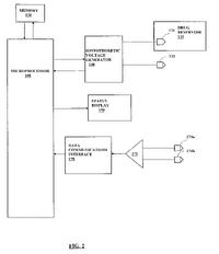
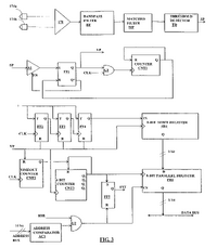
US09740129 Drug delivery system for implantable medical device This is for an implantable medical device that can communicate with an outside drug delivery device via low energy signals. There is an external pump that administers the medicine; the device is not completely subdermal. The outside system receives signals about the dosage needed based on information from the subdermal device which takes vitals. https://patents.google.com/patent/US6689117B2/en?q=implantable=drug+delivery+system Diagram of the external drug delivery device https://patents.google.com/patent/US6689117B2/en?q=implantable=drug+delivery+system A "circuit diagram of the data communications interface" for the implantable device https://patents.google.com/patent/US6689117B2/en?q=implantable=drug+delivery+system December 18, 2000


US20030171738 A1 Convection-enhanced drug delivery device and method of use The microchips described in this system include multiple storage units that are capable of housing various drugs. These reservoirs are controlled by a remote control which can regulate the rate in which the drugs are released into the bloodstream. Prior devices used a biodegradable barrier to release the drugs. https://www.google.ca/patents/US20030171738 System diagram of the remote control, microchip, and drug reservoir components of the drug delivery device https://www.google.ca/patents/US20030171738 March 6, 2002


US20050182389A1 Implantable medical device and patch system and method of use This patent lays the groundwork for a patch is placed on the the skin and communicates with an implanted device that takes the host’s vitals and relays the information back to the patch so that the patch can administer the correct dosage. https://patents.google.com/patent/US20050182389A1/en?q=implantable=drug+delivery+system Device schematic https://patents.google.com/patent/US20050182389A1/en?q=implantable=drug+delivery+system &q=A61M5%2f168&q=A61M2205%2f35 April 30, 2002



Fundability Worksheet Scores

Competitors
2--Many people are looking for an alternative to Epi Pen because consumers are frustrated with Epi Pen’s astronomical price increase ($100 in 2007 to $614 currently)


Customer Validation
2--Competitors exist, however, clinical improvements are still being sought. Currently, consumers are looking for alternatives to Epi Pen


IP Position
2--Our idea is original but is still based on some previously successful predicate devices.