BME100 f2016:Group12 W1030AM L1
|  BME 100 Fall 2016 | Home People Lab Write-Up 1 | Lab Write-Up 2 | Lab Write-Up 3 Lab Write-Up 4 | Lab Write-Up 5 | Lab Write-Up 6 Course Logistics For Instructors Photos Wiki Editing Help | |||||
|   | ||||||
| 
 OUR TEAMLAB 1 WRITE-UPHealth Care IssueType 2 diabetes is a health issue that effects about 27.84 million people in the United States,1 or about 9.3% of the population.11 Type 2 diabetes develops either when the body is unable to produce the necessary insulin to lower blood glucose levels or when the body has developed resistance to insulin. The main causes of type 2 diabetes are thought to be lack of exercise, unhealthy eating habits, and obesity.2 Diabetes is a severe medical problem because it can lead to blindness, nerve and kidney disorders, and an increased risk for heart disease.11 Another side effect of diabetes is hypoglycemia, which can lead to seizures, unconsciousness, and death.11 The CDC reports that the total cost of diabetes in the United States in 2012 was $245 billion.11 This included costs directly related to the treatment of the disease, as well as indirect costs (those associated with disability, work loss, and premature death). Obviously, this is a huge market size, and a health issue in which we can make a big difference in people's lives.
 CompetitorsThere are several different types of systems available for people with diabetes to monitor their blood glucose levels. The first is the most common and the traditional method of pricking the finger and placing a small drop of blood on a test strip. The second method involves placing a patch on the body that would be in contact with the blood stream at all times. The third method of testing blood glucose levels is using devices that are noninvasive. The advantages and disadvantages of each will be evaluated below: Advantages 
 Some of the noninvasive competitors currently under development are the following products (listed with their respective advantages): 
 
 
 
 Customer ValidationPatient Payer Physician Provider Purchaser IP PositionGlucose-Sensing Contacts:14 Google secured a patent for glucose-sensing contact lenses which would allow the patient to record their glucose levels without having to prick for blood. The patent was filed November 10, 2014, Application number 14/536,856. The product was designed by Frank Honore, Brian Otis, and Andrew Nelson. The product that they have designed communicates with radio waves from the eye to an app that would allow the patient to view blood glucose levels at any time. The patients are also able to request information from the contact lens through the app. Error creating thumbnail: File missing Patent for the Whole Blood Glucose Test Strip12
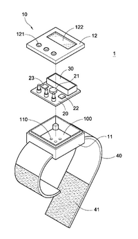
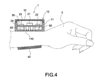
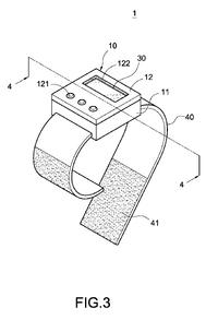
The filing date for the blood glucose test strip was March 21, 1995 and the test strip was patented October 8, 1996. The publication number is US5563042 A. The inventors were Roger Phillips, Geoffery McGarraugh, Franklin A. Jurik, and Raymond D. Underwood. This patent deals with the development of the whole blood glucose test strip, which allows the patient to place a drop of blood on the strip and determine their blood glucose level. This product is primarily used for diabetic patients.  Noninvasive Blood Glucose Meter:13 
 Error creating thumbnail: File missing 
 Fundability Worksheet ScoresCompetitors Customer Validation IP Position References1Statistics About Diabetes. (2016, April 1). Retrieved August 31, 2016, from http://http://www.diabetes.org/diabetes-basics/statistics/ 2Mandal, A. (2013, November 17). Diabetes Mellitus Type 2 Pathophysiology. Retrieved August 31, 2016, from http://www.news-medical.net/health/Diabetes-Mellitus-Type-2-Pathophysiology.aspx 3Tsai, A. (2015, March). Meters: Does Your Device Measure Up? Retrieved September 01, 2016, from http://www.diabetesforecast.org/2015/mar-apr/meters-does-your-device-measure-up.html 4GlucoWise™. (n.d.). Retrieved September 01, 2016, from http://www.gluco-wise.com/ 5Partners, I. (n.d.). GlucoSense: Non-invasive, continuous glucose monitoring. Retrieved September 01, 2016, from http://www.glucosense.net/ 6Google Secures Patent for Glucose-Sensing Contact Lens. (2015, April 18). Retrieved September 01, 2016, from http://diatribe.org/google-secures-patent-glucose-sensing-contact-lens 7Brown, A. (2015, January 09). Abbott’s FreeStyle Libre – Transforming Glucose Monitoring Through Utter Simplicity, Fingersticks Aside! Retrieved September 01, 2016, from http://diatribe.org/abbott-freestyle-libre-transforming-glucose-monitoring-through-utter-simplicity-fingersticks 8Staff, B. M. (2014, December 20). Diabetes. Retrieved September 01, 2016, from http://www.mayoclinic.org/diseases-conditions/diabetes/in-depth/blood-sugar/art-20046628 9Checking Your Blood Glucose. (2016, August 4). Retrieved September 01, 2016, from http://www.diabetes.org/living-with-diabetes/treatment-and-care/blood-glucose-control/checking-your-blood-glucose.html 10Kirk, B. P. (2014, October 17). Companies Developing Non-invasive and Wearable Glucose Monitoring Devices That Can Report Test Data in Real Time to Physicians and Clinical Laboratories. Retrieved September 01, 2016, from http://www.darkdaily.com/companies-developing-non-invasive-and-wearable-glucose-monitoring-devices-that-can-report-test-data-in-real-time-to-physicians-and-clinical-laboratories-1015#axzz4J2zJRuD0 11Centers for Disease Control and Prevention. National Diabetes Statistics Report: Estimates of Diabetes and Its Burden in the United States, 2014. Retrieved September 2, 2016, from https://www.cdc.gov/diabetes/pubs/statsreport14/national-diabetes-report-web.pdf 12Phillips, R., McGarraugh, G., Jurik, F. A., & Underwood, R. D. (1996). U.S. Patent No. US5563042 A. Washington, DC: U.S. Patent and Trademark Office. 13Lin, Tzu-Yi. (2010). U.S. Patent No. US20110263954 A1. Washington, DC: U.S. Patent and Trademark Office. 14H, F., O, B., & N, A. (2015). U.S. Patent No. 20150061837A1. Washington, DC: U.S. Patent and Trademark Office. 15Yanehara, S. (2016). U.S. Patent No. US RE46,130E. Washington, DC: U.S. Patent and Trademark Office. | ||||||