| 
  
 
OUR TEAM
Andrea Grio, Sonya Baran, Jake Perrine, Joshua Hsu and Saul Vidrios
 
LAB 1 WRITE-UP
Health Care Issue
Dialysis is used to treat people who suffer from Kidney Failure and stage four kidney disease. The kidneys function to filter one’s blood making sure to remove the waste the blood has picked up through the body. Kidney disease keeps the kidneys from performing their function and according to the National Kidney Association, “is most commonly caused by type 2 diabetes and high blood pressure”. When a person’s kidneys begin to fail and are not able to filter their own blood they need an ‘artificial kidney’ to filter their blood for them, this is what occurs in hemodialysis. As Melinda Ratini, DO from WebMD explains, “hemodialysis requires the patient to be hooked up to a dialysis machine and have their blood filtered through the dialyzer in the machine”. The dialysis machine is very large and requires the patient to travel to clinics to receive treatment. Hemodialysis takes a long time and is considered very tedious for the patient. 
https://www.kidney.org/atoz/content/kidneydiscauses
http://www.webmd.com/a-to-z-guides/kidney-dialysis
  
  
 
Competitors
System One by NxStage, Artificial Kidneys (Mobilysis)
  
Advantages  
easy to use, portable, all you need is an electrical outlet, has a 24/7 technical support online and on the phone if trouble, 
System One Advantages: "Jeff Burbank, founder and CEO of NxStage Medical, Inc., said the device was designed to give kidney sufferers ownership of their treatment.
"With the System One, patients are able to perform their therapy where they want and when they want — at home, while traveling, during the day or at night while sleeping," he said." (http://www.sfgate.com/news/article/Woman-fights-kidney-disease-defies-all-statistics-9141688.php)
 Artificial Kidney Advantages
Wearable belt, clinical trials are available, portable, FDA Approved, available to use it at home and/or travel, user friendly
 Disadvantages 
 System One Disadvantages:
Pricey- $2000 (ebay price), no gurantees
 Artificial Kidney Disadvantages
10 pound belt, have to do a clinical trial to qualify, still tethered to a machine, limited and expensive
 
  
 
Customer Validation
Patient  
Patients are the direct target of our product. The main goal of our product is to make the current dialysis process less invasive and readily available from the comfort of the patients home. According to the National Institute of Diabetes and Digestive and Kidney Diseases, "hundreds of thousands of Americans suffer from End Stage Renal Disease." (2009), Retrieved September 05, 2016. https://www.niddk.nih.gov/health-information/health-statistics/Pages/kidney-disease-statistics-united-states.aspx
  
Right now their only options to receive dialysis treatment is being stationed at a health clinic for prolonged hours, or purchasing a pricey in-home machine. Our product eliminates both the clinic hassle, and the price problem. 
 Payer 
For our particular product, our payer is the patient. However, insurance companies will still be interested in covering our device because it will prove to be profitable and a money saving investment in the long run.
 Physician  
Nephrologists and general physicians are the main care takers of patients with kidney problems. They will be interested in our dialysis machine because of its versatility, price, and quality.
 Provider 
Our device will be available for purchase online, and through particular stores. Hospitals and clinics will also carry our device to care for patients in-house if needed.
 Purchaser
  
We intend to be bough out, or at least be invested on by Johnson & Johnson or the General Electric Corporation since they are leaders in the medical device industry.
 
IP Position
| Number | 
Assignee | 
Title | 
Summary | 
Image | 
Filing date/Status
 |  
| US 8597505 B2 | 
Fresenius Medical Care Holdings, Inc. | 
Portable Dialysis Machine | 
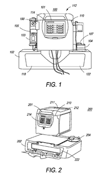
One of the current portable dialysis machines on the market today. Unique features is that it has a detachable main control unit from the based unit. Within this portable dialysis machine, there is increased ease of use and safety features. Furthermore, one of the strongest aspects of this system is its improved modularity. | 
  | 
February 11, 2011
 |  
| US 5284470 A | 
Beltz Alex D | 
Wearable, portable, light-weight artificial kidney  | 
Serves as a portable artificial kidney for the purposes of dialysis. Its key features are its size and extremely accommodating regarding where the patient can were them. How it works is primarily through seperating blood plasma, detoxifying, and then recombining it to be put back into the patient. | 
File:Wearable, portable, light-weight artificialkidney.png | 
November 2, 1992
 |  
| US 8012118 B2 | 
Fresenius Medical Care Holdings, Inc. | 
Artificial kidney dialysis system  | 
Wearable dialysis method and matching proof of concept for removing uremic waste metabolites and fluid from renal disease afflicted individuals. Concept introduces method that regenerates the peritonial dialysis solution without removing positively charged, essential ions from said solution, and by extension from the patient. Furthermore, the waste fluid is removed from the patient and put into the bladder for urination. One of the main parts of this device, is it is able to be retrofitted on the patient so they can perform normal activities and be run continously. | 
File:Artificial kidney dialysis system .png | 
September 6, 2011
 |   
 
  
  
  
  
  
  
  
 
Fundability Worksheet Scores
Competitors  
2 - Similar products exist, but they have significant design and/or price flaws.
 Customer Validation 
3 - Most people who are in need of dialysis would prefer to have an affordable, non-invasive, and portable device.
 IP Position
  
2 - The main scope of the portable dialysis market has been attempted to be addressed. Out of the research of the current status, it seems there are only a few companies which are directly addressing the issue. Currently, there are a couple of portable dialysis machines that have had prototypes designed. However, one of the more promising devices for portable dialysis seems to stem from a patent first filed in 1992. That specific device has been in the works/development for decades now. There could be a multitude of reasons for the length of time it's taking. One major hurdles seems to be the FDA channel. There are a large amount of challenges and trials that the device has to go through in order for it to be approved. However, all in all, the market seems to be relatively young and there seems to be room for growth.
  
 
 |