Uploads by Lmclaws
From OpenWetWare
Jump to navigationJump to search
This special page shows all uploaded files.
| Date | Name | Thumbnail | Size | Description |
|---|---|---|---|---|
| 21:00, 17 April 2018 | Exploded Group6 1030.PNG (file) | 12 KB | ||
| 20:55, 17 April 2018 | Florsideleft Group6 1030.PNG (file) | 13 KB | ||
| 20:54, 17 April 2018 | Florside Group6 1030.PNG (file) | 32 KB | ||
| 20:50, 17 April 2018 | Flortop Group6 1030.PNG (file) | 21 KB | ||
| 22:42, 3 April 2018 | S18 group6 G6P3.JPG (file) | 1.74 MB | pos control | |
| 22:40, 3 April 2018 | S18 group6 G6N1.JPG (file) | 1.76 MB | neg control | |
| 19:33, 14 March 2018 | LJ mcLaws group6 1030.jpeg (file) | 208 KB | avatar | |
| 05:57, 30 January 2018 | BME100 Group6 MicroNeedle2.png (file) | ![]() |
4 KB | |
| 05:51, 30 January 2018 | BME100 Group6 MicroNeedle1.png (file) | 67 KB | ||
| 05:40, 30 January 2018 | MicroNeedle.png (file) | 23 KB | ||
| 05:27, 30 January 2018 | BME100 Group6 HydrogelAdhesive.png (file) | 48 KB | ||
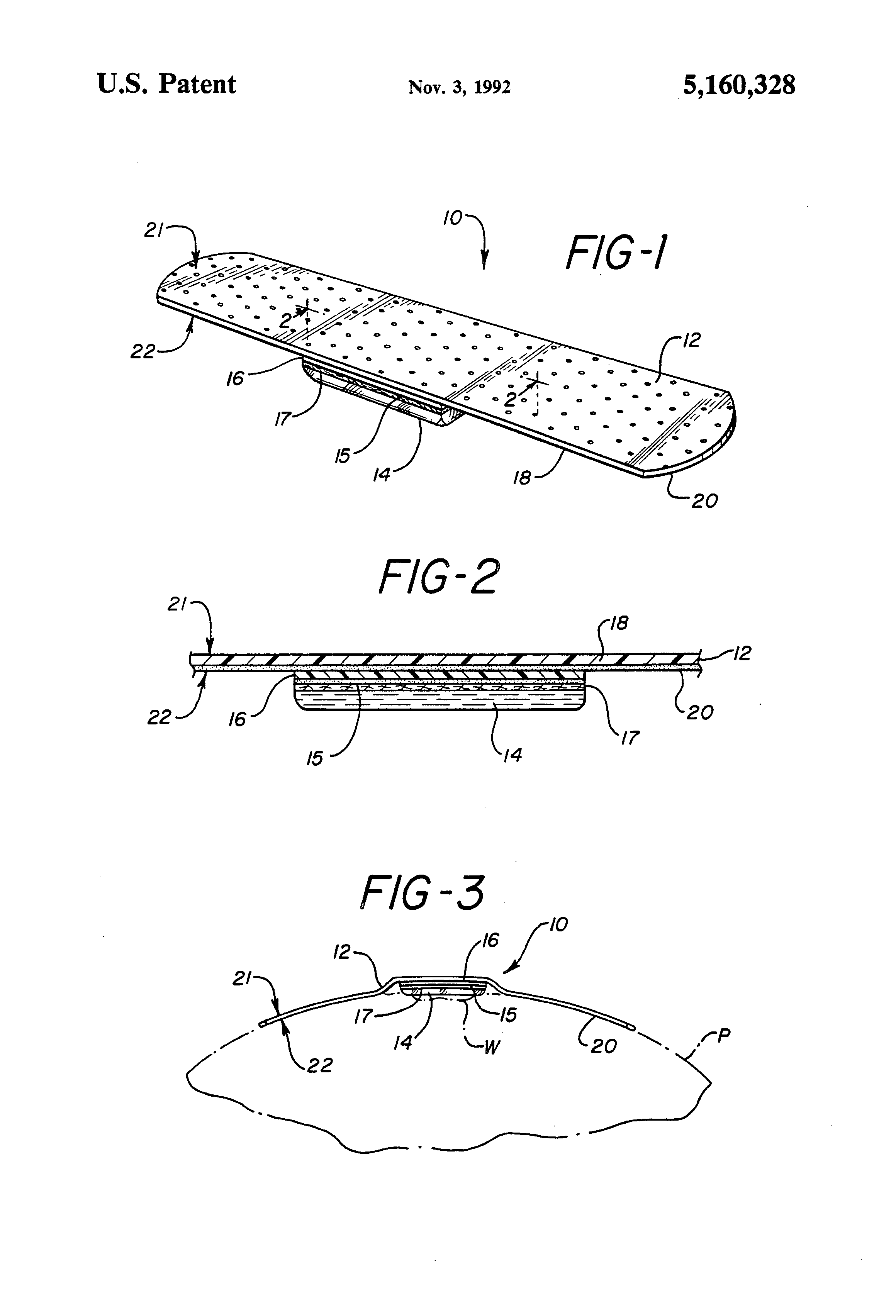
| 05:12, 30 January 2018 | BME100 Group6 Patent THDS.jpg (file) | 13 KB | image for IP transdermal hormone delivery system |
