Physics307L:People/Klimov/Electron Diffraction
SJK 01:20, 8 December 2008 (EST)

This is an excellent formal report! Most of my comments below are nit-picky and nothing major is required. For your follow-on work tomorrow, one important note is that the bulb and / or power supply are possibly dying. It looks like maybe the rings are much harder to see. As for what to investigate, I think you will be able to find plenty of things to try based on the very thoughtful analysis you have done so far. Great work!
On the Diffraction of Electrons Through a Graphite Foil
SJK 00:22, 8 December 2008 (EST)

I like your title, and good contact information.
Author: Paul V. Klimov
Experimentalists: Paul V. Klimov, Garrett McMath
Institution: University of New Mexico
Address: University of New Mexico, Department of Physics and Astronomy, Albuquerque NM, 87106
Abstract
SJK 00:28, 8 December 2008 (EST)

This is a good abstract. Here are some suggestions: (1) "poly-crystalline lattice" may not be correct terminology. the lattice is a crystal lattice, that always has the same spacings. polycrystalline means composed of an assortment of single crystals with varying orientations. (2) "it is my contention that..." is a bit informal...also, as both of your values agree with the accepted values within uncertainty, how can you claim to know about systematic error? (3) your first and last sentence are both motivation sentences. My opinion is that is awkward and redundant. I'd suggest removing the last sentence and put in something about "future work" or some kind of follow-on experiment you would potentially do (even though you're not going to). Or maybe you can think of a different replacement.
One century after its discovery, electron diffraction has been exploited as a useful characterization technique in many fields of physics and chemistry. In this experiment, electron diffraction was used to determine two characteristic spacings in graphite's poly-crystalline lattice. The spacings were measured to be .123(3)nm and .215(2)nm, compared to the accepted .123nm and .213nm, respectively. Much care was given to account for potential errors, and it is my contention that the slight discrepancy can be accounted for by systematic error. In all, electron diffraction has proved to be a useful method in the study of crystals.
Introduction
SJK 00:33, 8 December 2008 (EST)

I really like this introduction and I don't think it needs many changes. Here are some nit-picky comments: (1) non-polycrystalline can be better written as "single-crystal" or "single-domain" or "single-crystal domain" (you may want to google these to see what's preferred) (2) some parts are maybe a bit informal, but it seems to work, so I wouldn't change it (3) good citations to original peer-reviewed research
The term diffraction refers to the phenomenon of wave interference. Until the early 20th century, diffraction was believed to be an effect reserved to waves, such as light. However, in 1927, an experimental 'accident' by Davidson and Germer led to the discovery that particles, too, could diffract -- that is, particles had some sort of wave nature [1]. Coincidentally, matter waves had been predicted in the doctorate thesis of Louis de Broglie, which was completed several years earlier, in 1924. de Broglie claimed that matter must behave like waves in certain limits to preserve the symmetry often observed in nature [2]. Although the first particles that were observed to diffract were electrons, it has been shown since that essentially anything can diffract, given the correct conditions. This was also something predicted in de Broglie's thesis. In 1929, de Broglie received the Nobel Prize in Physics, for his work on matter waves and wave mechanics in general.
Over the course of the century, particle diffraction has become a huge component of various fields of physics and chemistry. The applications of electron diffraction, and matter diffraction in general, are absolutely boundless. One might inquire as to why matter diffraction is so much more useful that light diffraction, and the answer is crystal clear. Not only are electrons easily produced, but they are easily accelerated to short wavelengths that are unrivaled by photons. This well known fact has found its way into the fundamental workings of transmission electron microscopy, biological electron microscopy [3], short wavelength crystallography, and many other applications. Given the practical and historical significance of electron diffraction, it is a useful experiment to repeat not only to test the theory, but to embrace the beauty of its result.
In this experiment, electrons were accelerated through an atomic diffraction grating - graphite foil. The diffracted electrons were projected onto a fluorescent screen where the diffraction maxima could easily be seen. Given that graphite is highly polycrystalline in nature, the diffraction pattern formed as a ring, and not dots as would be expected from a non-polycrystalline foil. The diffraction rings were measured and their diameters were then related to the atomic spacings (see Figure 2 for diagram). Given the geometry of our experimental device, only the first order diffraction maxima were visible, and thus measured.
Materials and Methods
SJK 00:38, 8 December 2008 (EST)

These TIF image thumbnails are not displaying on my computer (I tried IE7 and firefox). This is a recurring problem on OWW, so you may want to replace them with JPGs which seem to work better on MediaWiki. Also, Darrel made a really nice diagram, that you could "borrow"--just make sure to give him credit.


The following equipment was used to perform the electron diffraction experiment:SJK 00:43, 8 December 2008 (EST)

Frequently, publications have page limits or page charges, and thus even though lists of equipment are helpful, they are not common. Usually the instrumentation is only described in the prose, and you should probably practice this. You can delete this list and then put the info in your text below. E.g., "All equipment from Teltron Limited, London England unless otherwise specified..." "Radii of diffraction rings were measured with digital calipers (Carrera Precision, CITY)." etc.
- Tel 2501 Universal stand
- Electron Diffractor 2555 (5Kv .3mA)
- Teltron Limited London England 813 KV Power Unit
- HP 6216B Power Supply
- Wavetek Meterman 85XT multimeter
- Electronic Digital Caliper: Carrera Percision
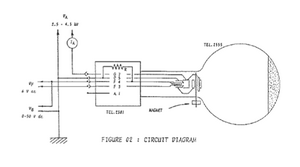
The electron diffraction device consists of several key components. The first is the high resistance filament, which is responsible for ejecting electrons. The filament was powered by the Teltron power supply, which was wired in series with an ammeter to monitor the input current. Just past the filament, a voltage was set up to accelerate the ejected electrons. This potential was produced with the Teltron power supply. Immediately after the accelerator resides the graphite foil, which served as the atomic diffraction grating, and as an entrance for the electrons into the spherical vacuum bulb. The bulb is coated in a fluorescent compound, which was activated upon collisions with electrons. A schematic of the diffraction device is provided to the right in Figure 1.
The electron diffraction device used in this set of experiments was extremely fragile. And in particular, the graphite foil used as the diffraction target was incredibly thin and it was given that excessive electron flux / current could easily puncture this foil. This was acknowledged and current was monitored at all time, not to let it exceed .25mA, which was the current rating of the diffraction device.
Several minutes after turning on the device, the diffraction patterns become visible on the fluorescent screen. Due to the fact that graphite is highly pollycrystaline, the diffraction patterns are rings and not dots, as would be expected otherwise. Given that the diffraction rings had finite width, we decided to measure only the inner diameters of each ring to avoid ambiguity and added error. The diameter of each ring was measured in this way using digital calipers accurate to one hundredth of a millimeter. This measuring technique was administered as we varied the accelerating potential from 5kV until roughly 3.3kV, at which point the diffraction rings had faded significantly, and we decided that accurate measurements could no longer be obtained.
After taking the measurements by the method described above, the atomic lattice spacings were calculated from the following relationship (see Appendix for an in-depth derivation and the list of used constants):
[math]\displaystyle{ d_{j}=\frac{2h (L_{o} + R_{c}(1-Cos(ArcSin(\frac{D_{j}}{2R_{c}})))}{D_{j}\sqrt{2meV_{a}}} - t \frac{D_{j}}{L_{o}} }[/math]
[math]\displaystyle{ R_{c} }[/math] is the radius of curvature of the bulb, [math]\displaystyle{ D_{j} }[/math] is the diameter of the diffraction ring in question, [math]\displaystyle{ V_{a} }[/math] is the accelerating voltage, [math]\displaystyle{ L_{o} }[/math] is the distance from the graphite to the opposite end of the vacuum bulb, t is the thickness of the bulb, h is the Planck constant, m is the electron mass, and e is the electron charge.
The equation is fairly complicated due to the fact that several corrections were made to account for the geometry of the tube. The fact that the graphite foil is not at the center of the vacuum bulb and that the bulb has finite thickness introduced the need for corrections.
SJK 01:15, 8 December 2008 (EST)

unless I missed it, you need to add a brief mention of your data analysis software and what algorithms were used. This is important because it's possible that systematic errors can be introduced by the particular software being used, so people need to be able to assess this in the future.
Tables and Figures
SJK 00:46, 8 December 2008 (EST)

In a formatted publication, editors try to put figures near the corresponding text. However, we're still in the dark ages of publishing, so manuscripts are usually submitted double-spaced with figures and tables at the end (very inconvenient for referee work). So, the way you've done it would actually be consistent with manuscript submission. Actually they typically require the captions separate from the figures, which is even more inconvenient. Definitely don't do that! If you feel like it, you can try to put your figures near the corresponding text, but the way you have it now is good.
Great job with the figures: good numbering and excellent descriptive captions!
| V (V) | outer ring diameter (mm) | inner ring diameter (mm) | atomic spacing from outer ring (nm) | atomic spacing from inner ring (nm) |
|---|---|---|---|---|
| 4900 | 36.99±1.5 | N/A | .222±.005 | .121±.016 |
| 4800 | 37.11±1.5 | 20.35±1.5 | .225±.005 | .121±.017 |
| 4700 | 37.31±1.5 | 21.74±1.5 | .212±.005 | .122±.015 |
| 4600 | 37.63±1.5 | 22.04±1.5 | .211±.005 | .122±.014 |
| 4500 | 38.02±1.5 | 22.50±1.5 | .209±.005 | .122±.014 |
| 4400 | 38.28±1.5 | 22.86±1.5 | .209±.005 | .123±.014 |
| 4300 | 38.64±1.5 | 22.24±1.5 | .217±.005 | .123±.015 |
| 4200 | 39.06±1.5 | 22.97±1.5 | .212±.005 | .123±.014 |
| 4100 | 39.45±1.5 | 23.03±1.5 | .214±.005 | .123±.014 |
| 4000 | 39.86±1.5 | 23.23±1.5 | .215±.005 | .123±.014 |
| 3900 | 40.15±1.7 | 23.55±1.7 | .215±.005 | .123±.014 |
| 3800 | 40.55±1.7 | 23.74±1.7 | .215±.005 | .124±.015 |
| 3700 | 40.92±1.7 | 24.17±1.7 | .215±.005 | .126±.015 |
| 3600 | 41.19±1.7 | 24.41±1.7 | .216±.005 | .126±.015 |
| 3400 | 41.87±1.7 | 24.78±1.7 | .219±.005 | .127±.015 |
| 3200 | 42.23±1.7 | 25.04±1.7 | .223±.005 | .129±.015 |
Table 1: Measurements of the outer and inner diffraction maxima, for each respective accelerating voltage V. Uncertainties were prescribed for each measurement based on the approximate width of the diffraction rings. The inner diameter of the outer maxima and the inner diameter of the inner maxima were measured. Measurements cease at 3200V where the diffraction rings are nearly impossible to see. The calculated atomic spacings from each datapoint are given in the last two columns, for each respective diffraction ring. The given uncertainties are the propagated error for each respective data point, given by: [math]\displaystyle{ \Delta d = d \Delta D/D }[/math]. We believe that this uncertainty is the best 95% confidence interval.
-
Figure 3: Calculated lattice spacings from the outer maxima ring. The blue error bars represent the propagated uncertainty in our measurement of the diffraction rings. The green error bars represent the SEM about the mean, which is given by the red line. The dark green line represents the accepted value of the characteristic lattice spacing in carbon.
-
Figure 4: Calculated lattice spacings from the inner maxima ring. The blue error bars represent the propagated uncertainty in our measurement of the diffraction rings. The green error bars represent the SEM about the mean, which is represented by the red line. The dark green line represents the actual lattice spacing.
-
Figure 5: Outer maxima diameter versus inverse of the root of the accelerating voltage. The blue error bars represent our uncertainty in the measurement of the outer diffraction maxima. The line is a least squares line that was constrained to go through the origin.
-
Figure 6: Inner maxima diameter versus inverse of the root of the accelerating voltage. The blue error bars represent our uncertainty in the measurement of the inner diffraction maxima. The line is a least squares line that was constrained to go through the origin.
Results and Discussion
SJK 00:57, 8 December 2008 (EST)

well, your discussion of data inspired me to look up the latest on whether "data" is singular or plural. I have been bullied in the past into using data as a plural ("these data") and I think that is probably still preferred by most journals. However, the singular use seems to be gaining ground, see for example, this discussion and seems natural. Well, you can decide what you want to do...it's certainly not that important to the science but some people have a lot time to worry about these things! (Dang,I guess that includes me now.)
Using the methods developed and the data given above, the atomic spacings were calculated for each data point, and are given in Table 1. Uncertainties corresponding to the diameter of the diffraction maxima were propagated to give the SEM. The data is also plotted in Figure 3 through 6, with corresponding least squares fits, means, and standard errors of the means where appropriate. Using the means, we see that the accepted values of the atomic spacings both lie within the given 68% confidence interval.
[math]\displaystyle{ d_{1}^{exp}=1.23(3) \AA }[/math]
[math]\displaystyle{ d_{2}^{exp}=2.15(2) \AA }[/math]
[math]\displaystyle{ d_{1}^{act}=1.23 \AA }[/math]
[math]\displaystyle{ d_{2}^{act}=2.13 \AA }[/math]
Interestingly, measurements of the outer diameter have a trend SJK 01:01, 8 December 2008 (EST)

"Trend" is probably not a good word choice, since it usually connotes a linear trend, which of course is the main feature of your data. I'm not sure what the best word choice would be. You could say the residuals are not normally distributed but instead the residuals seem to be a function of the voltage (as opposed to randomly distributed)...or something more descriptive like that.
to them (see Figure 3 and 5), which is likely the result of some systematic error. A possible, though fairly unlikely explanation for this error is a power supply malfunction, which would have caused us to undershoot some voltage measurements. Although this is an unresolved issue because the accelerating potential was not measured on a secondary voltmeter, it is our contention that the power supply was working properly. The reason being that to account for the trend that we saw, one would have to undershoot voltage measurements on the order of 1kV, which is highly unlikely.
SJK 01:04, 8 December 2008 (EST)

I think I understand what you're saying here, but it's a bit confusing as written. Perhaps what would help would be to explain how you could better take the measurements or eliminate this source of systematic error. Presumably you may try to do this tomorrow when you take extra data?
The more reasonable source of systematic error involves the spreading of the diffraction rings. As the accelerating voltage drops, the diameter of the diffraction rings gets quite large. This causes the angle of incidence to grow, which in turn causes the diffraction rings to become wider. Given that this is a progressive error, it could very well account for the trend that we saw. Our results for the inner diffraction maxima further uphold this claim because a trend was not seen (see Figure 4 and 6). The inner rings are always much smaller than the outer ring, in diameter. Therefore, its angle of incidence with the vacuum bulb is always roughly perpendicular, which would cause the with of the ring to stay constant, to a high degree of accuracy.
SJK 01:13, 8 December 2008 (EST)

Unless I missed it, I think you are missing a discussion of how the measured lattice spacings compare with the accepted values. You should include this (it appears that you are actually consistent). Then I would also suggest discussing your claim of systematic error and why you can get consistent answers (with what confidence interval) with apparent systematic problems. (A possible reason could be that your systematic error luckily cancels itself out a bit because it affects the data in both directions.)
If you look over all of your figures and table captions, I think it is true that some important discussion is right now only in the captions. It's redundant, but you want to make sure to have those important discussions in the text also. Because of this, it looks now like you're missing important discussion parts.
Conclusions
SJK 01:06, 8 December 2008 (EST)

I like your conclusions section. Throughout your formal report, you have successfully dealt with the sometimes awkward fact that you're trying to write a formal report about something which has been done for educational purposes (as opposed to original research). It's a tough thing to do, but I like the way you've done it.
Our results were consistent with theoretical predictions and the experimentally accepted values of the characteristic atomic spacings in graphite. This result shows the power of the electron diffraction technique in the field of crystallography. Even with limited and outdated equipment, we were able to obtain a great measurement of the spacings in graphite. It is hard to imagine the kind of accuracy possible with modern equipment.
From a theoretical perspective, electron diffraction clearly portrays the accuracy of de Broglie's wave theory. Experimental confirmation of this theory is crucial in physics because the de Broglie wave theory is really the basis of quantum/wave mechanics. In this experiment, entities which have classically been considered particles, electrons, clearly behaved like waves.
While work presented here shows only one of the many applications of electron diffraction, it is perhaps the most fundamental in that the same basic principles that were used here apply to all other analysis techniques involving particle diffraction. In follow up experiments, one might try to compare the resolving power of electron diffraction to other forms of diffraction, possibly including other particles or high energy photons, which would have direct relevance to crystallography.
Acknowledgements
SJK 01:07, 8 December 2008 (EST)

These acknowledgments are good. If it were a real publication, the phrase "I should also thank" would be at risk of being interpreted as "I don't feel like thanking..." :)
I would like to acknowledge my partner, Garrett McMath, and of course Dr.Koch who provided us with ideas and helped us out throughout the various experiments. I should also thank the University for allowing us to use one of their labs to perform this experiment.
References
SJK 01:09, 8 December 2008 (EST)

These are good references. For the web link, you should include the hyperlink and also write out the web address and the source (just in case someone prints out the article or the link goes bad or something).
[1]. C.Davisson and L.H. Germer, "Diffraction of Electrons by a Crysal of Nickel," The Physical Review 30, 6 (1927)
[2]. Biography of Louis de Broglie
[3]. R. M. Glaeser and G. Thomas, "Application of Electron Diffraction to Biological Electron Microscopy, BiophysJ 9, (9) (1969)
[4]. W.H. Bragg and W.L. Bragg, "The Reflection of X-rays by Crystals", Proceedings of the Royal Society of London. Series A 88, 605 (1913)
[5]. M. Gold, Physics 307L: Junior Laboratory, UNM Physics and Astronomy (2006)
Appendix
MATLAB CODE
All results and data were generated in MATLAB. The code used is given here: Electron Diffraction MATLAB Code
Derivations of used formulas
The kinetic energy gained by the electrons as they are accelerated through a potential difference of Va is given by the work-kinetic energy theorem:
[math]\displaystyle{ \Delta E_{kin}=-\Delta U = -\int_{c} \mathbf{F} \cdot d\mathbf{r} = \int_{c} e\mathbf{E} \cdot d\mathbf{r} = e(\mathbf{E\cdot \hat{r}}) \int_{c} dr = eE(r_{2}-r_{1})=eV_{a} }[/math]
Where i have made the approximation that fringing of the electric field is negligible, which is a reasonable approximation, given that the spacing between the anode and cathode is fairly small. Then, making use of the de Broglie theory of matter waves, we can now say that the accelerated electrons have a wavelength of:
[math]\displaystyle{ \lambda_{dB} = \frac{h}{|\mathbf{p}|}=\frac{h}{p}=\frac{h}{\sqrt{2mE_{kin}}}=\frac{h}{\sqrt{2meVa}} }[/math]
Given that electron energies were generally on the order of around 4keV, there will be no benefit in the computation of a relativistic deBroglie wavelength.
At this point, we must invoke the Bragg theory of diffraction, which will allow us to relate the atomic spacings in the crystalline target to the produced diffraction pattern. The Bragg condition is given by the following relationship. 'd' is the lattice spacing, n is the diffraction order, theta is the angle between two atoms in adjacent rows of a lattice, and lambda is the wavelength of the wave.
[math]\displaystyle{ 2\cdot d\cdot sin(\theta_{max})=n \cdot \lambda_{dB} }[/math]
This is general statement about the 'reflection' of matter waves from atoms in the targets lattice. The equation says that the path difference between two matter waves must be equal to an integer number of wavelengths. This condition forces the outgoing waves to interfere in-phase at the angle [math]\displaystyle{ \theta_{max} }[/math]. Likewise, one could find the diffraction minima by setting the phase difference equal to an odd number of wavelengths, forcing the interference to be destructive.
Given the geometry of our device, we see that the angle subtended from the crystal to the diffraction maxima turns out to be [math]\displaystyle{ 2\theta }[/math], conveniently relating what we see on the experimental level to the atomic scale. We now must use some small angle approximations to arrive at an expression that can be used in determining the atomic spacings. R is the radius of the diffraction maxima and L is the distance from the foil to the screen.
[math]\displaystyle{ \frac{R}{L}= sin(2\theta) \approx 2sin(\theta) }[/math]
Now, setting the diffraction order to 1 (n=1), we can relate these quantities to the deBrogle wavelength:
[math]\displaystyle{ d (2sin(\theta))=(1)\lambda_{dB}=\frac{Rd}{L} }[/math]
Combining the above relationships, and using the fact that R = D/2, the diameter of the ring, we arrive at the important equation relating measurable quantities to the atomic spacings:
[math]\displaystyle{ \frac{Rd}{L}=\frac{h}{\sqrt{2meV_{a}}} \Rightarrow d=\frac{2h L}{D\sqrt{2meV_{a}}} }[/math]
However, this equation is not complete given that the apparent length of the device, L, will be a function of the angle of diffraction. This quantity is easily related to the diameter of the diffraction pattern :
[math]\displaystyle{ L = L(D) }[/math]
[math]\displaystyle{ d=\frac{2h L(D)}{D\sqrt{2meV_{a}}} }[/math]
The relationship was found, which also invokes the radius of curvature, [math]\displaystyle{ R_{c} }[/math] of the spherical glass envelope. The quantity [math]\displaystyle{ L_{o} }[/math] is the distance from the graphite foil to the center of the glass envelope:
[math]\displaystyle{ L(D) = L_{o} + R_{c}(1-Cos(ArcSin(\frac{D}{2R_{c}})) }[/math]
Yet another correction will have to be made for the thickness of the glass envelope, t, which is given at 1.5mm. If this is not accounted for, our measurement of the diffraction ring diameter will too large by the following factor:
[math]\displaystyle{ 2 t sin(\theta) = 2 t \frac{D}{2L} }[/math]
Therefore, the final relationship relating atomic spacings and the diameter of the diffraction maxima, including all corrections is:
[math]\displaystyle{ d=\frac{2h (L_{o} + R_{c}(1-Cos(ArcSin(\frac{D}{2R_{c}})))}{D\sqrt{2meV_{a}}} - t \frac{D}{L} }[/math]
This is the equation used in the calculation of all atomic spacings.
List of Used Constants
[math]\displaystyle{ h = 6.626 \cdot 10^{-34} J \cdot s }[/math]
[math]\displaystyle{ e = 1.6 \cdot 10^{-19} C }[/math]
[math]\displaystyle{ m = 9.11 \cdot 10^{-31} kg }[/math]
[math]\displaystyle{ R_{c}= .66 \cdot 10^{-3} \cdot m }[/math]
[math]\displaystyle{ L_{o}=.130 \cdot m }[/math]
[math]\displaystyle{ t= 1.5 \cdot mm }[/math]