IGEM:Melbourne/2008/Concepts/Toggle switch
From OpenWetWare
Jump to navigationJump to search
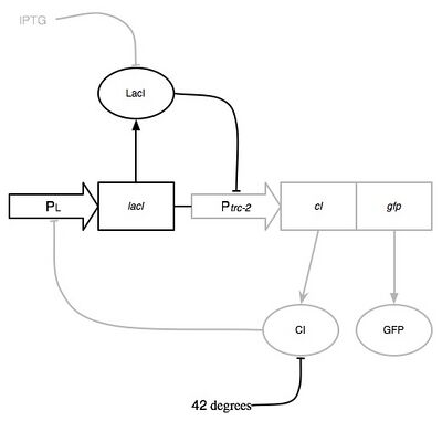
Overall System

Components:
- IPTG (Isopropyl β-D-1-thiogalactopyranoside) - small organic compound that stops the LacI protein from functioning
- LacI - protein that interacts with the Ptrc-2 promoter to repress transcription of downstream genes
- CI - protein that interacts with the PL promoter to repress downstream genes
- GFP (Green Fluorescent Protein) - Protein that fluoresces green (fairly self explanatory), used to indicate states of ON (green) and OFF (no green)
Initial State

- Consider an initial state where neither of the switch mechanisms is active
- The promoter PL is active, therefore the lacI gene is expressed
- This produces the LacI protein which represses the promoter Ptrc-2
- As this promoter is repressed, the cI & gfp genes are not transcribed
- No CI protein means that the PL promoter is not repressed and can keep on making the LacI protein
- No GFP means that there is no green signal (OFF)
Switch On

- Now switch the circuit on by adding IPTG
- IPTG stops the LacI protein from functioning, therefore the Ptrc-2 promoter is no longer repressed
- The cI & gfp genes are now able to be transcribed, producing the CI and GFP proteins
- GFP gives us a green signal (ON)
- The CI protein represses the PL promoter, stopping the production of any more LacI protein
- This system is now stable in the ON state and IPTG can be removed without switching it off
Switch Off

- To switch it off, raise the temperature to 42°C
- This degrades the CI protein so that it cannot repress the PL promoter
- This means that the PL promoter can initiate expression of the lacI gene, producing the LacI protein
- The LacI protein represses the Ptrc-2 promoter, which stops production of the GFP and CI proteins
- No GFP means no green signal (OFF)
- No CI means no repression of LacI production
- Again, this system is stable in the OFF state. If you were to lower the temperature the diagram would return to that shown as the 'Initial State' and would remain OFF.