File:BME100W1030 WatchBGM1.png
From OpenWetWare
				
				
				Jump to navigationJump to search
				
				

Size of this preview: 347 × 599 pixels. Other resolution: 1,465 × 2,529 pixels.
Original file (1,465 × 2,529 pixels, file size: 42 KB, MIME type: image/png)
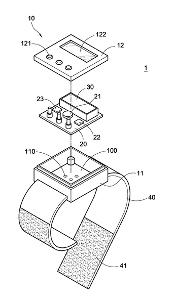
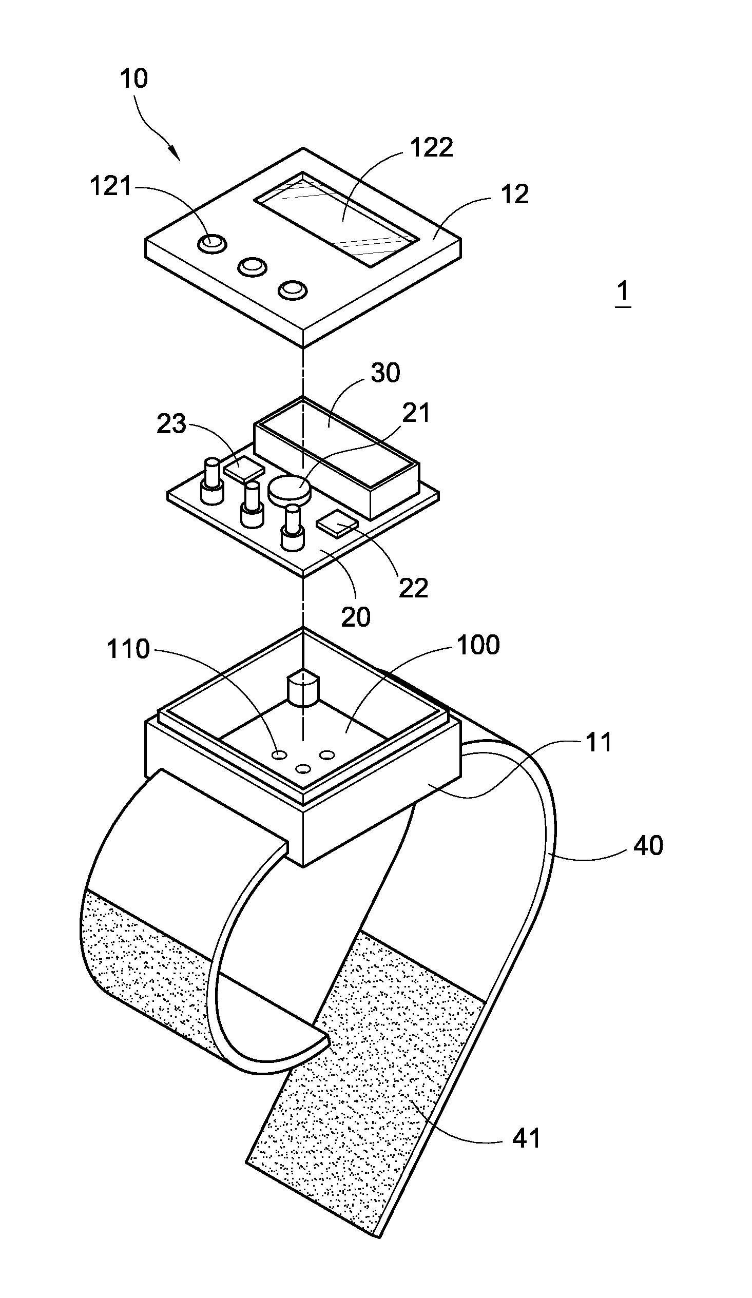
This is the first picture of the watch-style blood glucose meter.
File history
Click on a date/time to view the file as it appeared at that time.
| Date/Time | Thumbnail | Dimensions | User | Comment | |
|---|---|---|---|---|---|
| current | 22:49, 2 September 2016 |  | 1,465 × 2,529 (42 KB) | Kyle Z. Tappendorf (talk | contribs) | This is the first picture of the watch-style blood glucose meter. | 
You cannot overwrite this file.
File usage
The following page uses this file: