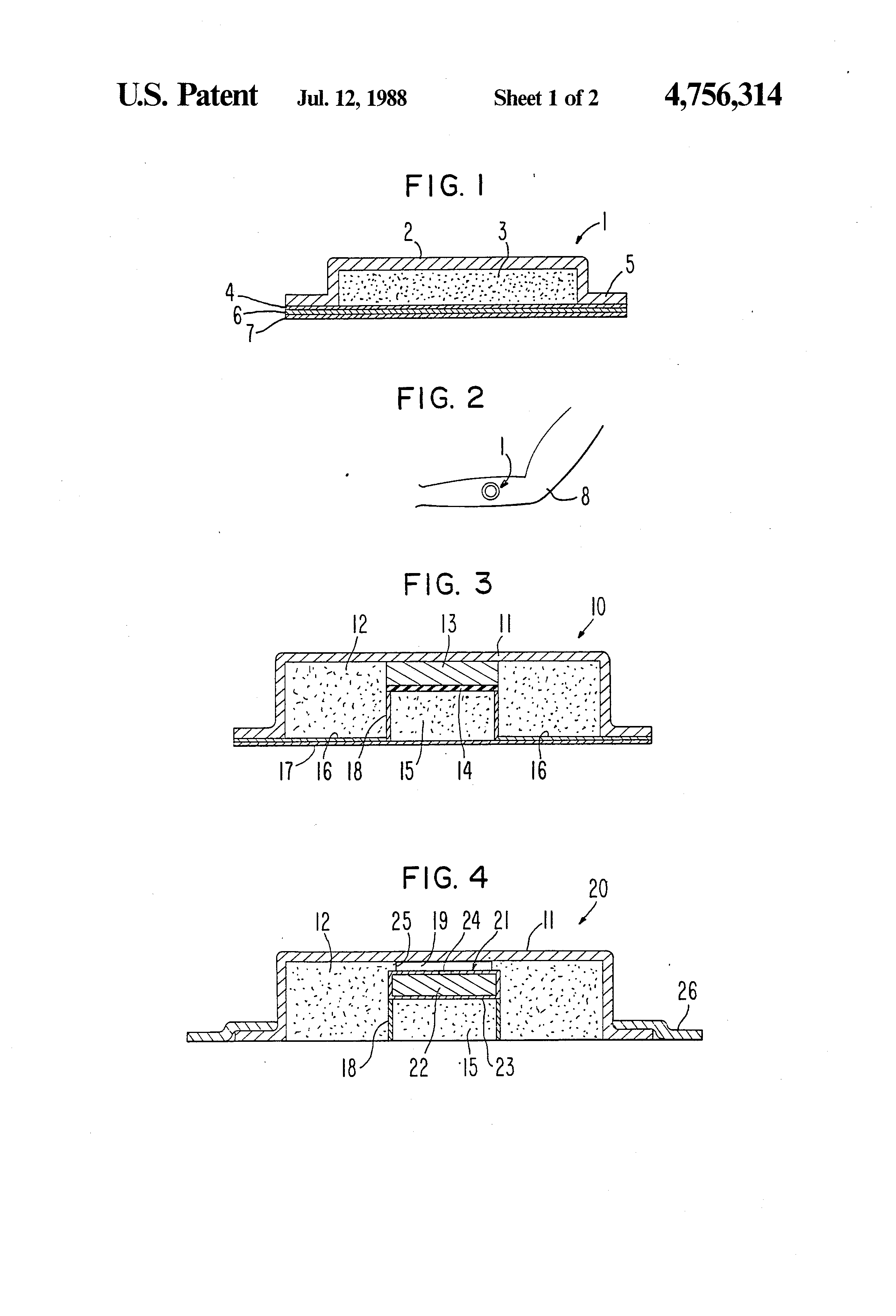
File:Sweatcollector.png
From OpenWetWare
Jump to navigationJump to search
Size of this preview: 408 × 599 pixels. Other resolution: 2,320 × 3,408 pixels.
Original file (2,320 × 3,408 pixels, file size: 45 KB, MIME type: image/png)
File history
Click on a date/time to view the file as it appeared at that time.
| Date/Time | Thumbnail | Dimensions | User | Comment | |
|---|---|---|---|---|---|
| current | 03:37, 7 September 2016 | 2,320 × 3,408 (45 KB) | Brandon Gandolf (talk | contribs) |
You cannot overwrite this file.
File usage
There are no pages that use this file.